恒瑞创新药大爆发,抢攻超600亿市场
编辑说:日前,恒瑞医药发布公告,公司的舒地胰岛素诺利糖肽注射液报产获受理,用于血糖控制不佳的成人2型糖尿病患者,在饮食和运动基础上联合其他口服降糖药物,改善血糖控制。米内网数据显示,糖尿病用药(化+生)在近年中国三大终端六大市场销售规模均超过600亿元,2025年Q1-Q3同比增长10.51%。
来源:米内网原创 2026-03-20 09:58
日前,恒瑞医药发布公告,公司的舒地胰岛素诺利糖肽注射液报产获受理,用于血糖控制不佳的成人2型糖尿病患者,在饮食和运动基础上联合其他口服降糖药物,改善血糖控制。米内网数据显示,糖尿病用药(化+生)在近年中国三大终端六大市场销售规模均超过600亿元,2025年Q1-Q3同比增长10.51%。
舒地胰岛素诺利糖肽注射液是恒瑞医药自主研发的由长效基础胰岛素类似物和胰高血糖素样肽-1受体激动剂组成的固定比例复方制剂,用于血糖控制不佳的成人2型糖尿病患者,在饮食和运动基础上联合其他口服降糖药物,改善血糖控制。
米内网数据显示,糖尿病用药(化+生)在近年中国三大终端六大市场(统计范围详见本文末)销售规模均超过600亿元,2025年Q1-Q3同比增长10.51%。从小类格局来看,胰岛素及其类似药(化+生)的市场份额占比最大,其次是SGLT2抑制剂(化)、GLP-1受体激动剂(化+生),市场份额占比均超过10%。
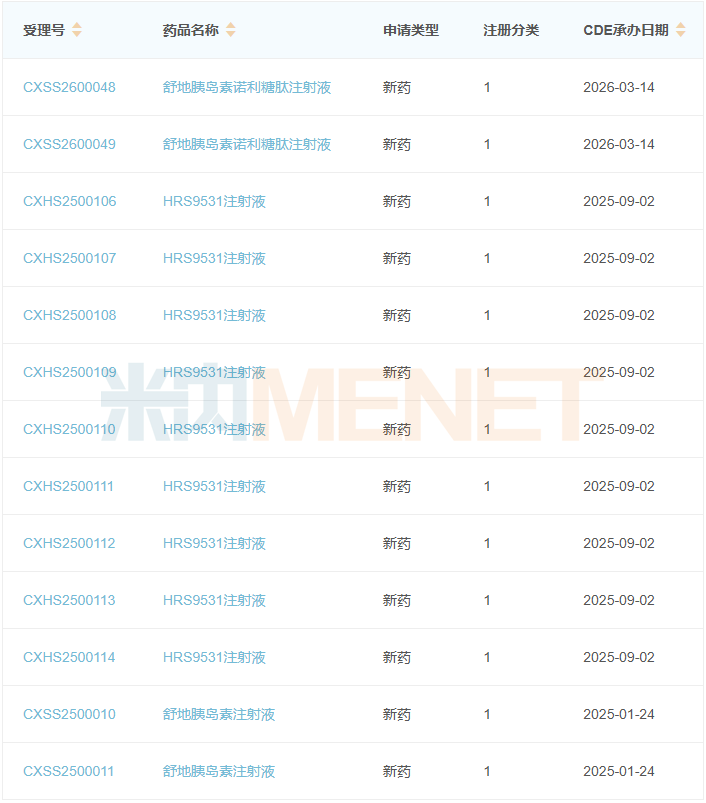
恒瑞医药在糖尿病用药领域有脯氨酸恒格列净片、磷酸瑞格列汀片、瑞格列汀二甲双胍片(Ⅰ)/(Ⅱ)等5款产品生产批文,舒地胰岛素诺利糖肽注射液、HRS9531注射液、舒地胰岛素注射液3款产品报产在审。
近期,恒瑞医药新品公告捷报频传。公司的富马酸立康可泮(HRS-5965)胶囊报产获受理,用于治疗既往使用C5补体抑制剂治疗后仍贫血的阵发性睡眠性血红蛋白尿症(PNH)成人患者。
公司自主研发的1类创新药海曲泊帕乙醇胺片新增适应症,本品联合免疫抑制治疗适用于15岁及以上初治重型再生障碍性贫血(SAA)患者。据了解,海曲泊帕乙醇胺片在2021年获批上市两个适应症:本品适用于既往对糖皮质激素、免疫球蛋白等治疗反应不佳的慢性原发免疫性血小板减少症(ITP)成人患者;本品适用于对免疫抑制治疗(IST)疗效不佳的重型再生障碍性贫血(SAA)成人患者。


