中药创新龙头发威,1.1类新药搅局4100亿市场
编辑说:1月29日,康缘药业提交了青参通络颗粒的临床申请获得CDE承办,该产品是公司今年首个申报的中药1.1类新药。2020年至今,康缘药业已陆续获批了9款中药新药,中药创新龙头实至名归。2025年Q1-Q3在中国三大终端六大市场,康缘药业是中成药市场TOP14集团(一级)。
来源:米内网原创 2026-02-02 09:42
1月29日,康缘药业提交了青参通络颗粒的临床申请获得CDE承办,该产品是公司今年首个申报的中药1.1类新药。2020年至今,康缘药业已陆续获批了9款中药新药,中药创新龙头实至名归。2025年Q1-Q3在中国三大终端六大市场,康缘药业是中成药市场TOP14集团(一级)。
图1:康缘药业最新申报的中药新药
来源:CDE官网
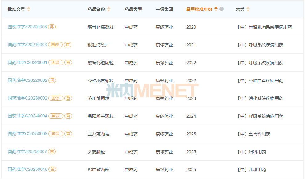
图2:2020年至今康缘药业获批的中药新药
来源:米内网中国上市药品(MID)数据库
米内网数据显示,有“中药创新龙头”美誉的康缘药业,2020年至今每年均有新药获批,其中2021年获批的银翘清热片和2025年获批的参蒲颗粒均为中药1.1类新药。
2024年在中国三大终端六大市场(统计范围见文末),中成药的销售规模超过了4100亿元,2025年Q1-Q3康缘药业是中成药市场TOP14集团(一级),销售额已超35亿元。
表1:2025年Q1-Q3康缘药业中成药TOP20产品
来源:米内网格局数据库
康缘药业在2020年获批上市的中成药6.1类新药筋骨止痛凝胶,已成功挺进公司中成药TOP20产品榜单,销售贡献率在2025年Q1-Q3提升至0.96%,公司的中药新药未来可期。
图3:康缘药业报产在审的中药新药
来源:米内网中国申报进度(MED)数据库
今年1月20日,康缘药业提交了热毒宁颗粒中药2.1类新药的上市申请获得承办,目前公司共有4款中药新药报产在审,1.1类新药涉及六味地黄苷糖片和苏辛通窍颗粒。
资料来源:米内网数据库、CDE官网
注:米内网《中国三大终端六大市场药品竞争格局》,统计范围:城市公立医院和县级公立医院、城市社区中心和乡镇卫生院、城市实体药店和网上药店,不含民营医院、私人诊所、村卫生室,不含县乡村药店;上述销售额以产品在终端的平均零售价计算。如有疏漏,欢迎指正!
收藏此篇文章


