信立泰1类新药再下一城,630亿市场波澜四起
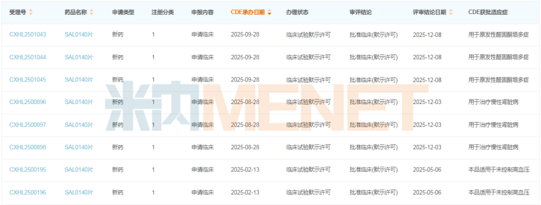
编辑说:近日,信立泰发布公告,旗下化药1类新药SAL0140片两项适应症接连获批临床,拟用于慢性肾脏病和原发性醛固酮增多症。今年5月,该药拟用于未控制高血压适应症获批临床,目前已进入Ⅱ期临床。米内网数据显示,2024年中国三大终端六大市场高血压化药销售额超630亿元。
来源:米内网原创 2025-12-11 09:11
近日,信立泰发布公告,旗下化药1类新药SAL0140片两项适应症接连获批临床,拟用于慢性肾脏病和原发性醛固酮增多症。今年5月,该药拟用于未控制高血压适应症获批临床,目前已进入Ⅱ期临床。米内网数据显示,2024年中国三大终端六大市场高血压化药销售额超630亿元。
SAL0140片为信立泰自主开发的1类新药,属于醛固酮合酶抑制剂,其有望通过直接抑制醛固酮的合成,降低原醛症患者的醛固酮水平,进而降低血压及器官损伤。目前,该新药已有3项适应症于今年先后获批临床,包括拟用于未控制高血压、慢性肾脏病和原发性醛固酮增多症。
受国采、省采等政策影响,近年来高血压化药销售市场跌宕起伏,2022-2024年在中国三大终端六大市场(统计范围详见本文末)销售额呈逐年下滑趋势,2024年跌至超630亿元;2025H1稍有“回暖”,同比增长至超330亿元,从渠道格局上看,公立医疗机构终端占据“半壁江山”,从小类格局上看,钙通道阻滞剂和高血压复方制剂市场份额均超27%。
2025H1中国三大终端六大市场高血压化药一级集团TOP10中,位居前四的均为外资企业,分别为诺华、拜耳、晖致和阿斯利康,华润医药、施慧达、华海药业、信立泰依次排在第五至第八;高血压化药品牌TOP10中,施慧达的苯磺酸左氨氯地平片(TOP5)、信立泰的阿利沙坦酯片(TOP7)是唯二上榜的国产品牌。
近年来,信立泰积极布局创新转型,不断加大创新研发投入,2025年前三季度研发费用达3.63亿元,同比增长18.4%。其中,慢病药为信立泰重点布局领域之一,今年以来集团已有5款新药报产在审/获批临床,集中在高血压用药、血脂调节剂、影响骨结构及其矿化的药物等治疗亚类。
5款在研新药包含:3款1类创新药、1款2.3类改良型新药和1款生物类似药。从最高研发进度看,1类新药泰卡西单抗注射液(高胆固醇血症)已报产在审,米内网预测其有望于2026年9月传来喜讯;1类新药SAL0140片(未控制高血压)已步入Ⅱ期临床,1类新药SAL0139片(高脂血症)、2.3类新药沙库巴曲阿利沙坦氨氯地平片(原发性高血压)、生物类似药SAL023注射液(骨质疏松)均已步入Ⅰ期临床。
12月7日,2025版国家基本医保目录正式发布,信立泰再有2款降血压新药经谈判准入,包括1类新药沙库巴曲阿利沙坦钙片(国内首款ARNI共晶药物)、2.3类新药阿利沙坦酯吲达帕胺缓释片(国内首款ARB/利尿剂类复方缓释制剂),进一步巩固公司在高血压领域的领先地位。


