30亿高血压药,石四药获批了
编辑说:日前,石四药集团发布公告,集团的苯磺酸左氨氯地平片以仿制4类报产获批,视同过评。米内网数据显示,苯磺酸左氨氯地平片在2024年中国三大终端六大市场超过30亿元销售规模,是高血压化药TOP4产品。
来源:米内网原创 2025-10-21 17:18
日前,石四药集团发布公告,集团的苯磺酸左氨氯地平片以仿制4类报产获批,视同过评。米内网数据显示,苯磺酸左氨氯地平片在2024年中国三大终端六大市场超过30亿元销售规模,是高血压化药TOP4产品。
苯磺酸左氨氯地平片主要用于高血压、慢性稳定性心绞痛及血管痉挛性心绞痛的治疗,可单独应用或与其他药物联合应用。
2024年中国三大终端六大市场高血压化药TOP10产品
来源:米内网格局数据库
苯磺酸左氨氯地平片在2024年中国三大终端六大市场(统计范围详见本文末)超过30亿元销售规模,是高血压化药TOP4产品,2025年上半年同比略有下滑。
米内网数据显示,苯磺酸左氨氯地平片有23家企业拥有生产批文,石家庄四药、山东鲁抗医药等22家企业过评,海南斯达制药、湖南千金湘江药业等26家企业以仿制4类报产在审,获批后视同过评。
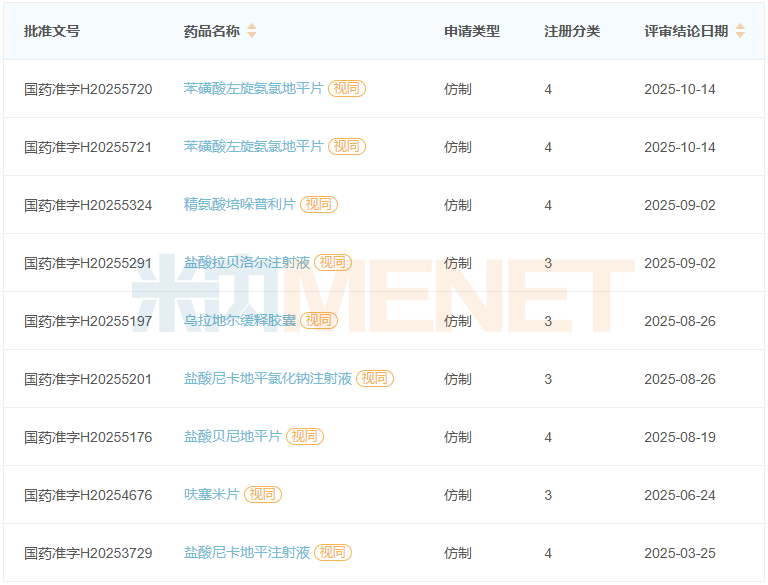
石家庄四药今年以来获批上市的高血压化药
来源:米内网中国申报进度(MED)数据库
截至目前,石家庄四药在高血压化药领域拥有19款产品生产批文。其中,8款在今年获批,苯磺酸左旋氨氯地平片、盐酸贝尼地平片在2024年中国三大终端六大市场分别是30亿元、10亿元级别重磅品种。此外,还有沙库巴曲缬沙坦钠片、尼莫地平片等6款高血压化药产品在今年报产。
资料来源:公司公告、米内网数据库等
注:米内网《中国三大终端六大市场药品竞争格局》,统计范围:城市公立医院和县级公立医院、城市社区中心和乡镇卫生院、城市实体药店和网上药店,不含民营医院、私人诊所、村卫生室,不含县乡村药店;上述销售额以产品在终端的平均零售价计算。如有疏漏,欢迎指正!
收藏此篇文章


