登录

米内网会员登录

还没有账号?立即注册>>  会员专区登录入口>>

请输入用户名或手机号

6-16个字符(字母、数字、特殊字符)忘记密码?

国产首个!江西药企1类新药获批上市

编辑说:10月11日,国家药监局官网显示,赣州和美药业申报的1类新药莫米司特片获批上市,为国内获批的首款自主研发的PDE4小分子创新药,为斑块状银屑病(PS)患者带来新的治疗选择。

来源:米内网原创      2025-10-13 09:02

10月11日,国家药监局官网显示,赣州和美药业申报的1类新药莫米司特片获批上市,为国内获批的首款自主研发的PDE4小分子创新药,为斑块状银屑病(PS)患者带来新的治疗选择。

莫米司特片(Hemay005片)是和美药业开发的一款磷酸二酯酶4(PDE4)小分子抑制剂,可通过调节细胞内cAMP和/或cGMP水平控制下游多种炎症因子的产生,在多种炎症相关疾病中均有不错的治疗效果。

据悉,莫米司特片于2016年12月首次进入临床阶段,目前已在国内登记了10余项临床试验;2023年7月,莫米司特片完成中重度斑块状银屑病适应症的III期临床试验,并于2024年4月提交NDA,2025年10月顺利获批上市。

在已完成的治疗中重度斑块状银屑病的临床III期试验中,莫米司特片展示出超过已上市PDE4抑制剂的优异疗效:核心期,接受莫米司特片治疗16周的患者中达成PASI75的比例53.6%;持续使用达成PASI75的比例进一步提升到70%以上。

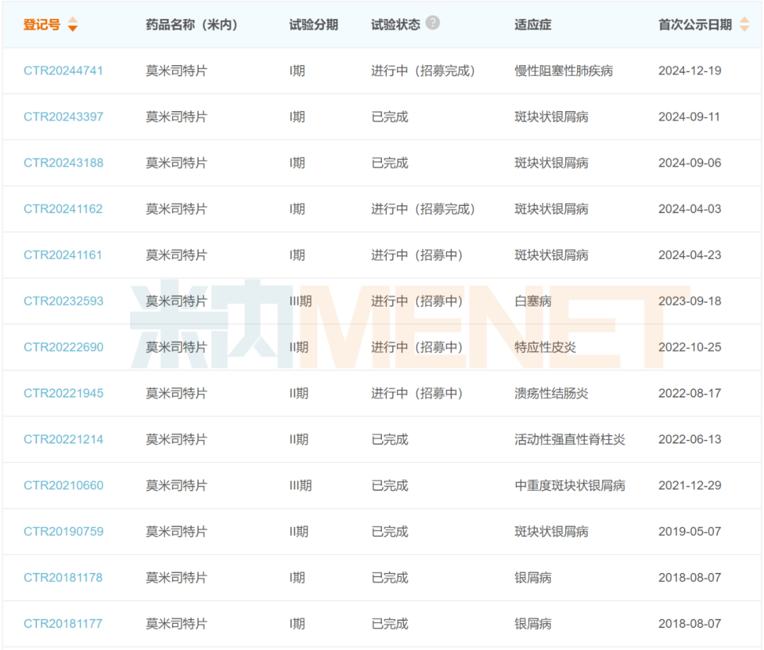
除了已获批的斑块状银屑病适应症外,莫米司特片还在国内开展白塞氏综合征(BD)、银屑病性关节炎(PsA)、溃疡性性结肠炎(UC)、强直性脊柱炎(AS)、特应性皮炎(AD)、慢性阻塞性肺炎(COPD)等适应症的临床试验。

莫米司特片在国内开展的部分临床试验
来源:米内网中国临床试验数据库

在莫米司特片之前,国内有一款PDE4抑制剂获批上市,为安进/BMS的阿普米司特片,该药目前已有10余款仿制药获批生产,包括石药欧意、齐鲁制药、正大清江、华润双鹤、上海现代制药、海正药业等。

和美药业成立于2002年,是一家致力于全球化创新药物自主研发与产业化的医药企业,以未满足的临床需求为研发导向,专注于自身免疫疾病与抗肿瘤领域。今年5月,和美药业向港交所提交上市申请书,据招股书显示,目前和美药业已开发出一条由七种候选药组成的产品管线。

除了已获批上市的莫米司特片,和美药业的EGFR/HER2双靶点抑制剂Hemay022片进展最快,目前正在开展III期联合疗法试验,用于治疗乳腺癌。

和美药业在国内开展临床的部分创新药
来源:米内网中国临床试验数据库

据弗若斯特沙利文数据,中国自身免疫疾病药物市场规模已从2019年的25亿美元增长至2023年的40亿美元,并预计将以23.3%的复合年增长率持续提升,到2032年将为263亿美元。

资料来源:米内网数据库、国家药监局官网等
注:米内网《中国三大终端六大市场药品竞争格局》,统计范围是:城市公立医院和县级公立医院、城市社区中心和乡镇卫生院、城市实体药店和网上药店,不含民营医院、私人诊所、村卫生室,不含县乡村药店;上述销售额以产品在终端的平均零售价计算。数据统计截至10月11日,如有疏漏,欢迎指正!

收藏此篇文章
MENET新媒体
微信二维码
扫一扫关注米内微信
电子报...
热门标签: