超10亿口服降糖药,施美药业出手了
编辑说:7月10日,CDE官网显示,江西施美药业的恩格列净片以仿制4类报产在审。米内网数据显示,恩格列净片在2024年中国三大终端六大市场(统计范围见文末)突破10亿元大关,2025年一季度同比增长近20%,是内服糖尿病用药(化+生)TOP10产品。
来源:米内网原创 2025-07-14 09:13糖尿病用药
恩格列净片是一种钠-葡萄糖协同转运蛋白-2抑制剂类药物,有降低血糖、降低体重、降低2型糖尿病患者小血管与大血管并发症发生风险等功效,主要用于治疗2型糖尿病。
近年中国三大终端六大市场恩格列净片销售情况(单位:万元)
来源:米内网格局数据库
恩格列净片在近年中国三大终端六大市场销售规模快速扩容,2024年突破10亿元大关,2025年一季度同比增长近20%,勃林格殷格翰的市场份额最大。
米内网数据显示,恩格列净片有33家企业拥有生产批文,其中,甘李药业、新华制药、汉森制药等6家企业均在今年获批。此外,江西施美药业、千金药业、康缘药业等22家企业报产在审。
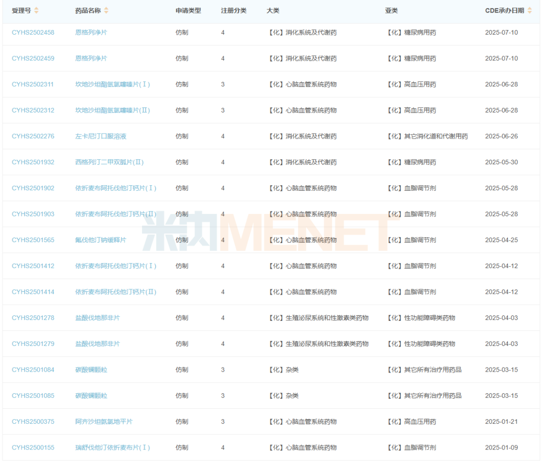
今年以来江西施美药业报产在审产品
来源:米内网中国申报进度(MED)数据库
目前,江西施美药业在糖尿病用药领域有磷酸西格列汀片生产批文,恩格列净片和西格列汀二甲双胍片(Ⅱ)2款产品报产在审。磷酸西格列汀片、恩格列净片和西格列汀二甲双胍片(Ⅱ)在2024年中国三大终端六大市场内服糖尿病用药(化+生)分别是TOP3、TOP10、TOP12产品。今年以来,江西施美药业已有12款产品报产在审。
资料来源:米内网数据库、CDE官网等
注:米内网《中国三大终端六大市场药品竞争格局》,统计范围是:城市公立医院和县级公立医院、城市社区中心和乡镇卫生院、城市实体药店和网上药店,不含民营医院、私人诊所、村卫生室,不含县乡村药店;上述销售额以产品在终端的平均零售价计算。如有疏漏,欢迎指正!
收藏此篇文章


