倍特药业厉害了!两大重磅注射液同日获批
编辑说:近日,NMPA官网显示,倍特药业的注射用盐酸万古霉素和注射用头孢他啶阿维巴坦钠均以新分类报产同日获批、视同过评,2023年其在中国三大终端六大市场销售额分别超23亿元和11亿元。今年以来,倍特药业已有7个新品获批生产并视同过评,16个品种提交上市申请获受理。
来源:米内网原创 2025-04-14 09:02
来源:NMPA官网
注射用盐酸万古霉素属于糖肽类抗菌药,用于治疗对万古霉素敏感的耐甲氧西林(β-内酰胺耐药)的葡萄球菌引起的严重或致命感染,以及由葡萄球菌、草绿色链球菌、牛链球菌或类白喉杆菌引起的心内膜炎。
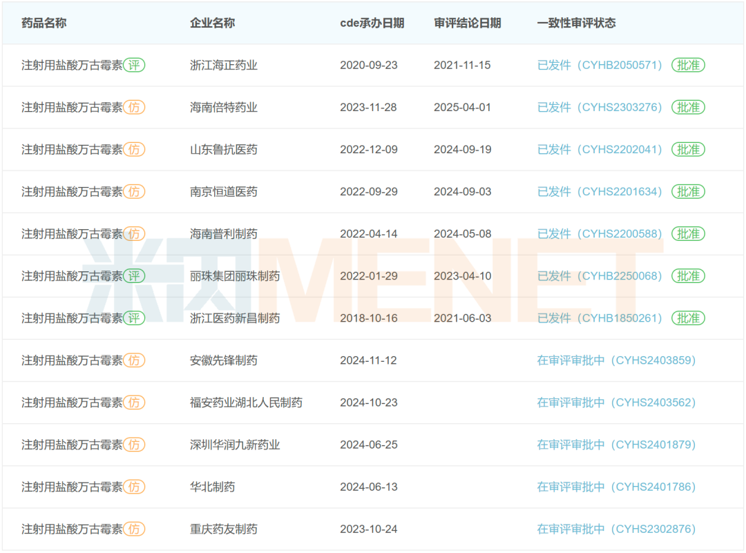
在中国三大终端六大市场(统计范围详见本文末),注射用盐酸万古霉素2022年销售额首破20亿元,同比增长15.41%;2023年再度超越23亿元,位居全身用抗细菌化学药产品前十二。
米内网数据显示,目前该产品有7家本土药企拥有生产批文,其中倍特药业、南京恒道医药、山东鲁抗医药等4家以新分类获批上市、视同过评,浙江医药、丽珠集团丽珠制药、海正药业3家提交一致性评价补充申请获批过评。
注射用头孢他啶阿维巴坦钠为抗生素类复方制剂,用于治疗复杂性腹腔内感染、医院获得性肺炎和呼吸机相关性肺炎等由耐药革兰阴性菌引起的感染,是全国医保乙类药品种。
近年来,该药在中国三大终端六大市场销售额均以两位数的增速保持增长,2023年收获超11亿元;2024上半年拿下约6.3亿元,预计全年销售规模将再创新高。目前国内已有14家企业的注射用头孢他啶阿维巴坦钠获批上市,涉及齐鲁制药、科伦药业、正大天晴药业、国药致君制药、倍特药业等。
在此之前,倍特药业今年已有5款新品以新分类获批上市、视同过评,分别是巴氯芬口服溶液、碘美普尔注射液、盐酸屈他维林注射液、沙美特罗替卡松吸入粉雾剂和盐酸艾司洛尔注射液,涵盖肌肉松弛药、造影剂、高血压用药等治疗亚类。
今年以来,倍特药业有16个品种按新注册分类报产获受理,其中阿糖胞苷注射液国内暂未有企业获批上市,脂肪乳氨基酸(17)葡萄糖(19%)注射液、磷酸芦可替尼片等有望冲击国产第2家。


