暴涨980%的抗癫痫药,国产第2家诞生
编辑说:日前,步长制药发布公告称,全资子公司陕西步长制药的拉考沙胺片获批上市,成为国产第2家。拉考沙胺是一款新型抗癫痫药物,2020年全球销售额超过16亿美元,该产品于2018年底在中国获批,市场正处于快速上升期。
来源:米内网原创 2021-05-12 17:16抗癫痫药
5月10日,步长制药发布公告称,全资子公司陕西步长制药的拉考沙胺片获批上市,成为国产第2家。拉考沙胺是一款新型抗癫痫药物,2020年全球销售额超过16亿美元,该产品于2018年底在中国获批,市场正处于快速上升期。
拉考沙胺是由优时比开发的一种新型N-甲基-D-天门冬氨酸(NMDA)受体甘氨酸位点结合拮抗剂,是具有全新双重作用机制的抗惊厥药物。拉考沙胺片适用于4岁及以上癫痫患者部分性发作的单药治疗和联合治疗。
据优时比财报,2020年拉考沙胺全球销售额为16.56亿美元。2018年11月,优时比的拉考沙胺片在中国获批上市,市场正处于快速上升期。
中国城市实体药店终端拉考沙胺销售情况
来源:米内网中国城市实体药店终端竞争格局
米内网数据显示,2020年中国城市公立医院、县级公立医院、城市社区中心以及乡镇卫生院(简称中国公立医疗机构)及中国城市实体药店终端拉考沙胺销售额合计为3776万元。由于基数小,2020年中国城市实体药店终端拉考沙胺销售额大涨981.89%,增幅明显。
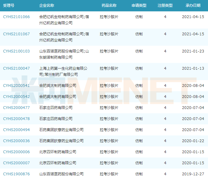
拉考沙胺片上市申请待批企业
来源:米内网一键检索
步长制药的拉考沙胺片为国产第2家。2019年1月,江西青峰药业拿下拉考沙胺片国内首仿。2021年4月15日,合肥亿帆生物提交的考沙胺片仿制4类申请获得CDE承办。此外,石药集团、常州制药、山东百诺医药、石家庄四药、北京四环制药、合肥英太制药等6家企业的拉考沙胺片仿制4类申请在审中。
收藏此篇文章


