34款中成药贴膏剂火了!独家品种大涨88%,奇正、羚锐、国药集团上榜,山东药企冲刺中药1类新药
编辑说:日前,山东汉方制药的中药1.1类新药白及创愈贴获批临床,适应症为开放性不需缝合的切割伤。2020年至今,中成药贴膏剂已有7款中药新药获批临床。米内网数据显示,中成药贴膏剂在2025年中国三大终端六大市场同比增长0.56%。从品牌TOP20来看,院内市场2大超10亿品牌创新高,奇正、哈药、上药亮眼;院外市场国药集团独家品种大涨88%,羚锐5大品牌上榜。
来源:米内网原创 2026-04-24 09:10中成药贴膏
日前,山东汉方制药的中药1.1类新药白及创愈贴获批临床,适应症为开放性不需缝合的切割伤。2020年至今,中成药贴膏剂已有7款中药新药获批临床。米内网数据显示,中成药贴膏剂在2025年中国三大终端六大市场同比增长0.56%。从品牌TOP20来看,院内市场2大超10亿品牌创新高,奇正、哈药、上药亮眼;院外市场国药集团独家品种大涨88%,羚锐5大品牌上榜。
100亿市场波澜再起,山东药企冲刺中药1类新药
米内网数据显示,中成药贴膏剂在近年中国三大终端六大市场(统计范围详见本文末)均超过100亿元销售规模,2025年同比增长0.56%。从细分渠道来看,院内市场(公立医院终端+公立基层医疗终端)是主力销售渠道,院外市场(零售药店终端:城市实体药店+网上药店)则略有下滑。
从治疗大类来看,骨骼肌肉系统疾病用药的市场份额一枝独秀,且实现4连涨;皮肤科用药、肿瘤疾病用药均有双位数增速。
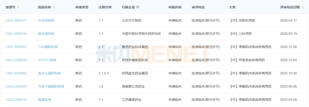
近日,中成药贴膏剂1类新药再传捷报。4月17日,山东汉方制药的白及创愈贴获批临床,适应症为开放性不需缝合的切割伤。在此之前,中国中医科学院中药研究所的麻桂退热贴获批临床,适应症为儿童急性上呼吸道感染。
2020年至今,中成药贴膏剂仅健民药业集团的小儿牛黄退热贴膏获批上市,湖南九典制药的椒七止痛凝胶贴膏报产在审,均为中药1类新药。此外,7款中成药贴膏剂中药新药获批临床,其中,山东汉方制药的白及创愈贴、杭州禾橼医药科技的ZHY211贴膏、海南赛立克药业的马钱子碱凝胶贴膏、江苏康缘药业的栀黄贴膏等5款中药1类新药,陕西盘龙药业集团的盘龙七凝胶贴膏、赛灵药业科技集团的TQA凝胶贴膏为中药改良型新药。
院内市场:2大超10亿品牌创新高,奇正、哈药、上药亮眼
品牌TOP20中,2个销售额超过10亿元,西藏奇正藏药的消痛贴膏稳居“销冠”宝座,重庆希尔安药业的麝香追风止痛膏晋身TOP2;云南白药无锡药业的云南白药膏、河南羚锐制药的通络祛痛膏均超过5亿元,上海雷允上药业的关节镇痛巴布膏首次晋身TOP20品牌之列。
从增速来看,上海雷允上药业的关节镇痛巴布膏大涨52.49%,黄石燕舞药业的神农镇痛膏大涨30.57%,重庆希尔安药业的麝香追风止痛膏大涨23.45%、哈药世一堂制药的祛风骨痛巴布膏大涨21.02%,贵州联盛药业的麝香活血化瘀膏大涨17.80%,广东罗浮山国药的罗浮山风湿膏药、江苏康缘阳光药业的复方南星止痛膏等增速均超过5%。此外,多个独家产品增速亮眼,西藏奇正藏药的消痛贴膏、重庆希尔安药业的麝香追风止痛膏、贵州联盛药业的麝香活血化瘀膏、杭州仁德药业的消炎止痛膏、哈药世一堂制药的祛风骨痛巴布膏、上海雷允上药业的关节镇痛巴布膏均实现4连涨。
消痛贴膏是奇正藏药的独家产品,有活血化瘀,消肿止痛功效,用于急慢性扭挫伤、跌打瘀痛等。该产品是医保乙类品种、国家基药、OTC乙类品种,在近年中国城市公立医院、县级公立医院、城市社区中心以及乡镇卫生院(简称中国公立医疗机构)终端稳步攀升,销售额均超过10亿元,2025年再创新高,继续占据中成药贴膏剂TOP1品牌。
麝香追风止痛膏是重庆希尔安药业的独家产品,有祛风除湿,散寒止痛功效,用于寒湿痹阻所致关节、肌肉疼痛,扭伤疼痛。该产品是国家医保甲类、国家基药、OTC甲类品种,在近年中国公立医疗机构终端销售规模快速扩容,2024年突破10亿元,2025年同比增长超过20%。
院外市场:国药集团独家品种大涨88%,羚锐5大品牌上榜
品牌TOP20中,11个销售额超过1亿元,西藏奇正藏药的消痛贴膏、云南白药无锡药业的云南白药膏、河南羚锐制药的通络祛痛膏位居前三。
9个独家产品上榜,其中,国药德众(佛山)药业的腰肾膏大涨88.37%,云南白药无锡药业的云南白药膏、桂林华润天和药业的骨通贴膏大涨超过20%。
非独家产品中,桂林华润天和药业的麝香壮骨膏、河南羚锐制药的舒腹贴膏、白云山何济公制药的消炎镇痛膏等增速均超过5%。
从集团层面来看,羚锐制药最多,有5个上榜;华润医药有3个,云南白药有2个。
羚锐制药上榜的5个品牌中,通络祛痛膏是独家产品,在近年中国零售药店终端均保持5亿元销售规模;壮骨麝香止痛膏、麝香壮骨膏、舒腹贴膏、伤湿止痛膏在2025年中国零售药店终端羚锐制药的市场份额均位居第一。据了解,羚锐制药在产品创新方面,将持续强化贴膏剂产品的市场领先地位,加大研发投入,加快创新成果转化,形成可持续产品矩阵。
腰肾膏是国药德众(佛山)药业的独家产品,有温肾助阳、强筋壮骨、祛风止痛功效,用于肾虚性腰膝酸痛、肌肉酸痛等。该产品是国家医保乙类、OTC甲类品种,在2025年中国零售药店终端同比增长88.37%,晋身TOP20品牌之列。从细分渠道来看,城市实体药店是主力销售渠道,网上药店则保持双位数增速。


