人福、重庆药友猛攻百亿市场!TOP20洗牌,2个超10亿品种领跑,倍特、康臣……国产品牌突围
编辑说:近期,造影剂市场再掀热浪。上海司太立制药的钆布醇注射液报产、钆喷酸葡胺注射液获批上市,此外,福建森福润医药科技的碘佛醇注射液、宜昌人福药业的钆塞酸二钠注射液先后报产。米内网数据显示,造影剂在2025年上半年中国公立医疗机构终端销售额同比增长3.08%,从TOP20来看,2个超10亿产品领跑,恒瑞、扬子江、康臣等上榜。截至目前,已有15个造影剂(151个品规)过评,倍特药业领跑过评榜。今年以来,造影剂已有20个受理号(10个品种)获批上市,39个受理号(11个品种)报产在审。
来源:米内网原创 2025-12-08 09:39造影剂
近期,造影剂市场再掀热浪。上海司太立制药的钆布醇注射液报产、钆喷酸葡胺注射液获批上市,此外,福建森福润医药科技的碘佛醇注射液、宜昌人福药业的钆塞酸二钠注射液先后报产。米内网数据显示,造影剂在2025年上半年中国公立医疗机构终端销售额同比增长3.08%,从TOP20来看,2个超10亿产品领跑,恒瑞、扬子江、康臣等上榜。截至目前,已有15个造影剂(151个品规)过评,倍特药业领跑过评榜。今年以来,造影剂已有20个受理号(10个品种)获批上市,39个受理号(11个品种)报产在审。
重磅新品接连获批,倍特领跑过评榜
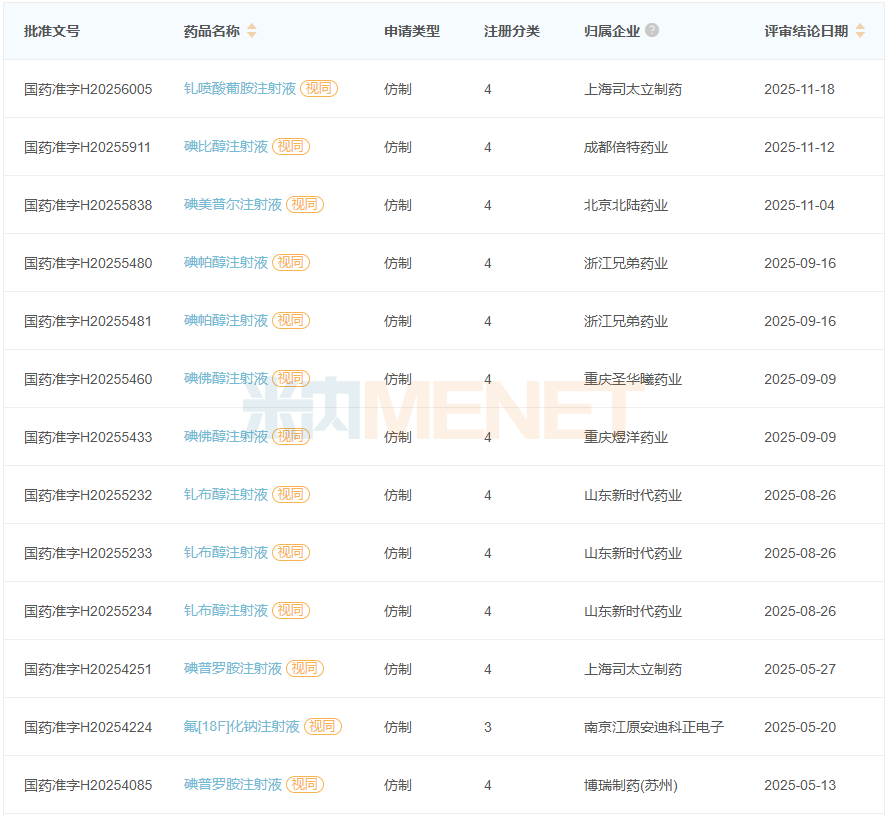
近日,司太立发布公告,其全资子公司上海司太立制药的钆喷酸葡胺注射液以仿制4类报产获批,视同过评。司太立表示,钆喷酸葡胺注射液是公司继钆贝葡胺注射液后第二个获批的磁共振造影剂产品,进一步丰富公司制剂产品管线。在此之前,成都倍特药业的碘比醇注射液、北京北陆药业的碘美普尔注射液先后以仿制4类报产获批。
今年以来,造影剂已有20个受理号(10个品种)获批上市,其中,成都倍特药业的碘比醇注射液、南京江原安迪科正电子的氟[18F]化钠注射液均为国产第2家。此外,福安药业宁波天衡制药的碘海醇注射液、浙江天瑞药业的碘海醇注射液均以一致性评价补充申请获批过评。
截至目前,造影剂已有15个品种(151个品规)过评,碘帕醇注射液、钆特酸葡胺注射液、碘普罗胺注射液、碘克沙醇注射液均有9家企业过评,碘海醇注射液有8家企业过评,钆布醇注射液有7家企业过评,碘佛醇注射液、碘美普尔注射液、钆喷酸葡胺注射液均有5家企业过评,独家过评品种仅江苏恒瑞医药的罂粟乙碘油注射液。
从集团层面来看,倍特药业过评产品最多,有11个,其次是北京北陆药业和司太立各有8个。此外,恒瑞医药、科伦药业和正大制药各有5个。
TOP20洗牌!2个超10亿产品领跑,恒瑞、扬子江、康臣上榜
米内网数据显示,造影剂(化+生)在2022年中国城市公立医院、县级公立医院、城市社区中心以及乡镇卫生院(简称中国公立医疗机构)终端受集采影响销售额大跌超20%,2023年止跌回升,2024年重返150亿元,2025年上半年同比增长3.08%。
从集团TOP20来看,恒瑞医药、通用电气、博莱科位居前三,正大制药晋身TOP5,倍特药业继续以强劲增长(+821.13%)逼近前十,排名从2024年新上榜的第14位到2025年上半年的第11位。此外,博莱科、力品药业(厦门)、福安药业、科伦药业均有双位数增速。
从在销品种数量来看,产品有25个,品牌有80个。
从产品TOP20销售额来看,碘佛醇注射液、碘克沙醇注射液超过10亿元,碘海醇注射液、碘普罗胺注射液、碘美普尔注射液超过5亿元,前十产品合计市场份额占比超过85%,市场集中度较高。
从治疗小类来看,碘盐类X射线造影剂最多,有10个;磁共振造影剂有7个,超声造影剂有2个,非碘盐类X射线造影剂有1个。
不久前,第十一批国采中选结果正式出炉,再有一款造影剂产品钆布醇注射液被纳入,山东新时代药业、湖南科伦制药、海南倍特药业、扬子江药业集团广州海瑞药业、北京北陆药业5家企业中选。该产品在近年中国公立医疗机构终端实现5连涨,2024年销售额超过2亿元,2025年上半年同比增长45.99%。截至目前,造影剂已有5个产品被纳入国采。
值得一提的是,碘普罗胺注射液虽然过评数量达到条件但未纳入第十一批国采,该产品在2024年中国公立医疗机构终端超过15亿元销售规模,2025年上半年同比略有下滑,目前有10家企业拥有生产批文,拜耳的市场份额占比最大,重庆药友制药、鲁南贝特制药、北京北陆药业均以仿制4类报产在审。
品牌TOP20中,江苏恒瑞医药的碘佛醇注射液、拜耳的碘普罗胺注射液、博莱科的碘美普尔注射液位居前三,其中,江苏恒瑞医药的碘佛醇注射液是唯一一个销售额超10亿元品牌,拜耳的钆布醇注射液是新上榜品牌。
从集团层面来看,拜耳(碘普罗胺注射液、钆塞酸二钠注射液、钆布醇注射液、钆喷酸葡胺注射液)有4个上榜,恒瑞医药(碘佛醇注射液、钆特酸葡胺注射液、罂粟乙碘油注射液)、博莱科(碘美普尔注射液、注射用六氟化硫微泡、钆贝葡胺注射液)、通用电气(碘海醇注射液、碘克沙醇注射液、钆双胺注射液)各有3个上榜,扬子江药业(碘克沙醇注射液、碘海醇注射液)有2个上榜。
7个品牌有双位数增速,其中2个国产品牌亮眼,分别是北京北陆药业的钆喷酸葡胺注射液(+19.58%)、康臣药业的钆喷酸葡胺注射液(+12.07%)。
新品蜂拥而至,人福、重庆药友……猛攻百亿市场
近日,上海司太立制药的钆布醇注射液、福建森福润医药科技的碘佛醇注射液、宜昌人福药业的钆塞酸二钠注射液先后以仿制4类报产在审。今年以来,造影剂已有39个受理号(11个品种)报产在审,其中,宜昌人福药业的钆塞酸二钠注射液是公司第2款报产的造影剂产品,钆塞酸二钠注射液在今年9月以仿制4类报产在审,在此之前,人福医药在造影剂领域暂无生产批文,如产品顺利获批上市,将助力公司打开新市场。
截至目前,造影剂已有64个受理号(12个品种)报产在审。碘佛醇注射液最为火热,有10家企业报产;其次是钆布醇注射液,有7家企业报产在审。从企业来看,重庆药友制药报产产品最多,有(碘比醇注射液、碘美普尔注射液、碘普罗胺注射液、碘克沙醇注射液、碘佛醇注射液)5个报产在审。此外,八氟丙烷脂质微球注射液暂无仿制药获批,康臣药业、南京正大天晴制药均以仿制4类报产在审。


