29个神经系统中成药火了!独家品种大涨62%,佐力、天士力、九芝堂上榜,33款中药新药来袭
编辑说:神经系统疾病中成药因疗效确切、药效稳定等优势被广泛应用于临床。米内网数据显示,2025H1中国三大终端六大市场神经系统疾病中成药销售额超72亿元。公立医疗机构品牌TOP20中,16个独家品种(含剂型独家,下同)在列,佐力药业的乌灵胶囊稳居榜首,天士力、太极等表现亮眼;零售药店品牌TOP20中,敖东药业的安神补脑液蝉联桂冠,九芝堂、上药等潜力十足。以岭、康缘、国药......33款中药新药强势来袭。
来源:米内网原创 2025-12-05 09:03神经系统中成药
神经系统疾病中成药因疗效确切、药效稳定等优势被广泛应用于临床。米内网数据显示,2025H1中国三大终端六大市场神经系统疾病中成药销售额超72亿元。公立医疗机构品牌TOP20中,16个独家品种(含剂型独家,下同)在列,佐力药业的乌灵胶囊稳居榜首,天士力、太极等表现亮眼;零售药店品牌TOP20中,敖东药业的安神补脑液蝉联桂冠,九芝堂、上药等潜力十足。以岭、康缘、国药......33款中药新药强势来袭。
138亿市场涨势如虹,33款中药新药强势来袭
神经系统疾病中成药因疗效确切、携带方便、药效稳定等优势被广泛应用于临床。米内网数据显示,神经系统疾病中成药近年来在中国三大终端六大市场(统计范围详见本文末)销售额稳步攀升,2024年拿下创新高的超138亿元,2025H1继续以4.05%的增速增长至超72亿元。
渠道格局方面,公立医院终端在2025H1神经系统疾病中成药的占比过半,达到51.95%,零售药店(城市实体药店+网上药店)终端和公立基层医疗终端的市占比均超过20%。从治疗亚类上看,神经系统疾病中成药共覆盖6大品类,其中安神补脑药占据“半壁江山”,销售额超过36亿元,市场份额达50.71%;头痛药(偏头痛)以近20亿元的销售额位居其后,市场份额约28%。
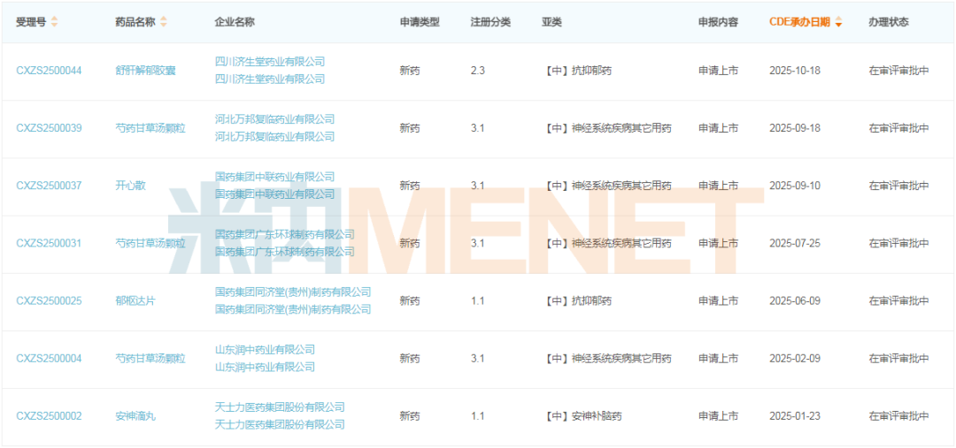
米内网数据显示,2021年至今已有8款神经系统疾病中药新药获批上市,其中4款为1.1类新药,具体是以岭药业的解郁除烦胶囊、华春生物药业的参葛补肾胶囊、思济药业的参郁宁神片和方盛制药的养血祛风止痛颗粒;3款3.1类新药均为芍药甘草汤颗粒,获批企业包括神威药业、华润三九和人福医药;1款6类新药,是以岭药业的益肾养心安神片。
此外,7款神经系统疾病中药新药报产在审,包括2款1.1类新药、4款3.1类新药和1款2.3类新药。其中,天士力的1.1类新药安神滴丸拟用于阴血不足、失眠多梦、心悸不宁等,国药集团的1.1类新药郁枢达片拟用于气机郁滞所致的情绪郁闷、低落、思维迟钝等;据米内网预测,其分别有望于2026年1月和6月传来喜讯。
2021年以来,有18款神经系统疾病中药新药先后获批临床,包含16款1.1类新药和2款2.3类新药。
其中,6款1.1类新药康缘药业的枣柏安神颗粒(失眠症)、九华华源药业的通窍静眩颗粒(阵发性位置性眩晕)、绿谷集团的颅通胶囊(偏头痛)、山西省中医药研究院的柴芩宁神颗粒(失眠障碍)、利孚生物科技的松针正脑颗粒(偏头痛)、湖南中医药大学的柴金解郁安神片(抑郁症)均已步入Ⅱ期临床;康弘药业的舒肝解郁胶囊(广泛性焦虑障碍)、康缘药业的苁蓉总苷胶囊(阿尔茨海默病)2款2.3类新药均为新增适应症,其分别处于报产在审和Ⅱ期临床阶段。
院内市场16个独家品种在列,佐力、天士力......火出圈
2025H1中国公立医疗机构终端神经系统疾病中成药一级集团销售额排名中,华润医药、佐力药业、国药集团、康弘药业、陕西汉王药业依次位列TOP5。其中,多个集团销售额均实现同比正增长,TOP5集团市场份额合计接近50%。
品牌TOP20方面,佐力药业的乌灵胶囊一马当先,以近7亿元的销售额稳居榜首;天士力的养血清脑颗粒、四川济生堂药业的舒肝解郁胶囊位居第二和第三,销售额均在4亿元以上;太极集团的通天口服液排名第四,销售额超过3亿元。
上榜的中成药有16个为独家品种,包括佐力药业的乌灵胶囊、天士力的养血清脑颗粒和养血清脑丸、四川济生堂药业的舒肝解郁胶囊、太极集团的通天口服液、安徽雷允上药业的复方苁蓉益智胶囊、扬子江药业的百乐眠胶囊等。
从一级集团层面看,华润医药旗下有2个独家品种在列,分别是天士力的养血清脑颗粒和养血清脑丸;国药集团同有2个独家品种在列,具体为太极集团的通天口服液、国药同济堂制药的枣仁安神胶囊。
14个品牌销售额实现正增长,其中太极集团的通天口服液、乌兰浩特中蒙制药的安神补心六味丸均涨超24%,佐力药业的乌灵胶囊增长15.36%,云南永孜堂制药的天麻醒脑胶囊增长14.2%,四川济生堂药业的舒肝解郁胶囊、荣昌制药的甜梦口服液、青海益欣药业的丹珍头痛胶囊均涨逾13%。
零售市场独家品种大涨62%,敖东、九芝堂......厉害了
2025H1中国零售药店终端神经系统疾病中成药一级集团格局中,TOP5一级集团分别为敖东药业、华润医药、国药集团、佐力药业和上海医药。其中,敖东药业市场份额超12%,国药集团、佐力药业销售额增速均超10%。
品牌TOP20中,敖东延边药业的安神补脑液蝉联桂冠,也是唯一销售额突破2亿元的上榜品牌;佐力药业的乌灵胶囊位列第二,销售额超过6000万元;云南金七制药的七叶神安滴丸、天士力的养血清脑颗粒、四川济生堂药业的舒肝解郁胶囊依次位列第三至第五,销售额均在5000万元以上。
16个神经系统疾病独家中成药登榜,包括佐力药业的乌灵胶囊、云南金七制药的七叶神安滴丸、天士力的养血清脑颗粒和养血清脑丸、华润三九的正天丸、青岛国风药业的健脑丸、九芝堂的天麻钩藤颗粒、桂林三金药业的眩晕宁片等。
9个品牌销售额呈正增长,有7个涨幅达两位数。其中,九芝堂的天麻钩藤颗粒大涨61.52%,青岛国风药业的健脑丸大涨41.99%,河南泰丰生物的解郁丸、辽宁仙草堂药业的枣仁安神液均涨超22%,太极集团的通天口服液增长16.32%等。
健脑丸是上海医药青岛国风药业的独家中成药,具有补肾健脑、养血安神的功效,用于心肾亏虚所致的记忆减退、头晕目眩,老年轻度认知障碍见上述证候者,为OTC甲类(双跨)品种。近年来,该产品在中国零售药店终端销售额均保持两位数及以上的同比增速,2024年创下超7000万元的历史新高,2025H1继续以约42%的增速增长至超3600万元。
天麻钩藤颗粒是九芝堂的独家中成药,功能主治平肝熄风、清热安神,用于肝阳上亢所引起的头痛、眩晕、耳鸣、眼花、震颤、失眠,高血压见上述证候者,为国家医保乙类药品种。在中国零售药店终端,该药2023-2025H1销售额增速分别达88.5%、58.87%和61.52%,2025H1拿下超2000万元的销售佳绩,首次挺进神经系统疾病中成药品牌前十九。


