23款独家止咳祛痰平喘中成药火了!扬子江、济川、以岭上榜,康缘、葫芦娃中药新药蓄势待发
编辑说:止咳祛痰平喘中成药作为家中常备药品之一,一直以来备受市场关注。米内网数据显示,止咳祛痰平喘中成药在近两年中国三大终端六大市场均超过300亿元销售规模,2025年上半年同比有所下滑。院内市场品牌TOP20中,扬子江、健兴药业领跑,两大独家品种4连涨;院外市场品牌TOP20中,10个销售额超过1亿元,国药、华润等亮眼。此外,多款中药新药蓄势待发,涉及康缘药业、葫芦娃药业、以岭药业等多家企业。
来源:米内网原创 2025-10-30 09:15止咳祛痰平喘中成药
止咳祛痰平喘中成药作为家中常备药品之一,一直以来备受市场关注。米内网数据显示,止咳祛痰平喘中成药在近两年中国三大终端六大市场均超过300亿元销售规模,2025年上半年同比有所下滑。院内市场品牌TOP20中,扬子江、健兴药业领跑,两大独家品种4连涨;院外市场品牌TOP20中,10个销售额超过1亿元,国药、华润等亮眼。此外,多款中药新药蓄势待发,涉及康缘药业、葫芦娃药业、以岭药业等多家企业。
300亿市场承压,康缘、葫芦娃中药新药蓄势待发
米内网数据显示,止咳祛痰平喘中成药在近两年中国三大终端六大市场(统计范围详见本文末)均超过300亿元的销售规模,2025年上半年同比有所下滑。从细分渠道来看,院内市场(公立医院终端 公立基层医疗终端)、院外市场(零售药店:城市实体药店 网上药店)的市场份额旗鼓相当。
从剂型来看,溶液剂的市场份额占比最大,超过30%;胶囊剂、散剂/颗粒剂、浸膏剂/煎膏剂、片剂的市场份额占比均超过10%。
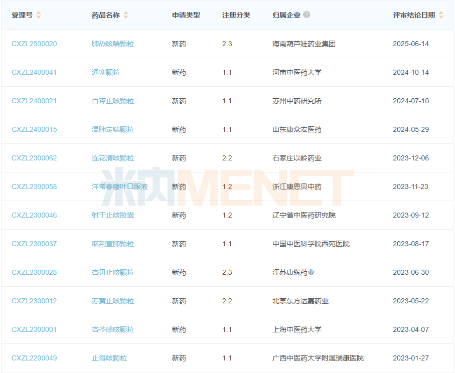
止咳祛痰平喘中成药新品方面,2020年至今有以岭药业的连花清咳片、卓和药业的九味止咳口服液2款新药获批上市;北京朗祯医药科技的金草止咳口服液、广州悦康生物制药的紫花温肺止嗽颗粒以中药1类新药报产在审,杨凌科森生物制药的苏黄止咳胶囊以中药仿制4类报产在审。
多款新药获批临床,包括苏州中药研究所的百苓止咳颗粒、浙江康恩贝中药的洋常春藤叶口服液、江苏康缘药业的九味疏风平喘颗粒等1类新药,海南葫芦娃药业的肺热咳喘颗粒、石家庄以岭药业的连花清咳颗粒等中药改良型新药。
院内市场:扬子江、健兴药业领跑,两大独家品种4连涨
2025年上半年中国城市公立医院、县级公立医院、城市社区中心以及乡镇卫生院(简称中国公立医疗机构)终端止咳祛痰平喘中成药集团TOP20中,扬子江药业、贵州健兴药业、凯宝药业、国药集团、哈尔滨康隆药业依次位居前五,其中,扬子江药业和贵州健兴药业的市场份额占比均超过10%;广药集团、远健投资、远大健康、北京同仁堂、桂林三金集团均有双位数增速。
品牌TOP20中,扬子江北京海燕药业的苏黄止咳胶囊、贵州健兴药业的肺力咳合剂、上海凯宝药业的痰热清注射液位居前三,其中,扬子江北京海燕药业的苏黄止咳胶囊连续多年稳居“销冠”宝座,上海凯宝药业的痰热清注射液是唯一上榜的注射剂。
15个独家品种上榜,包括扬子江北京海燕药业的苏黄止咳胶囊、贵州健兴药业的肺力咳合剂、上海凯宝药业的痰热清注射液、太极集团的急支糖浆、康缘药业的杏贝止咳颗粒、津药达仁堂集团的清肺消炎丸等,桂林三金药业的蛤蚧定喘胶囊、石家庄以岭药业的连花清咳片均实现4连涨。
从集团层面来看,济川药业(三拗片、黄龙止咳颗粒)、广药集团(蜜炼川贝枇杷膏、养阴清肺膏)各有2个品牌上榜。
正增长品牌中,呼伦贝尔松鹿制药的养阴清肺口服液大涨21.69%领跑;白云山潘高寿药业的养阴清肺膏和桂林三金药业的蛤蚧定喘胶囊大涨均超过10%,排名较2024年分别提升3个、4个位次。
蛤蚧定喘胶囊是桂林三金独家产品,有滋阴清肺、止咳平喘功效,用于肺肾两虚、阴虚肺热所致的虚劳咳喘、气短胸满、自汗盗汗。该产品在近年中国公立医疗机构终端快速增长,2022年-2025年上半年分别同比增长157.57%、156.14%、28.38%、12.03%。
连花清咳片是以岭药业以中医络病理论为指导所研制的用于治疗急性气管-支气管炎的中药6.1类新药,该产品在近年中国公立医疗机构终端销售规模快速扩容,2024年销售额突破1亿元,2025年上半年同比增长7.24%。
院外市场:10个品牌销售额超1亿,国药、华润……亮眼
2025年上半年中国零售药店终端止咳祛痰平喘中成药集团TOP20中,京都念慈菴总厂、国药集团、浙江天皇药业、广药集团、华润医药依次位列前五,其中,京都念慈菴总厂和国药集团的市场份额占比均超过10%;浙江天皇药业、甘肃普安制药均有双位数增速。
品牌TOP20中,10个销售额超过1亿元,其中,京都念慈菴总厂的京都念慈菴蜜炼川贝枇杷膏以超过7亿元继续领跑,浙江天皇药业的铁皮枫斗颗粒、太极集团重庆涪陵制药的急支糖浆位居第二、三,销售额均超过4亿元。
14个独家品种上榜,包括京都念慈菴总厂的京都念慈菴蜜炼川贝枇杷膏、浙江天皇药业的铁皮枫斗颗粒、甘肃普安制药的宣肺止嗽合剂、青海普兰特药业的虫草清肺胶囊等。
从集团层面来看,国药集团、华润医药、广药集团、红云制药各有2个品牌上榜。
正增长品牌中,华润三九(南昌)药业的强力枇杷露增速最快,达60.16%;浙江天皇药业的铁皮枫斗颗粒、红云制药(昆明)的清肺抑火胶囊、甘肃普安制药的宣肺止嗽合剂增速均超过10%。
铁皮枫斗颗粒是浙江天皇药业的独家产品,有益气养阴、养胃生津功效,适用于气阴两虚所致的干咳,口燥咽干,两目干涩等。该产品在近年中国零售药店终端销售规模持续攀升,2025年上半年销售额超过4亿元,同比增长16.89%。
宣肺止嗽合剂是甘肃普安制药的独家产品,有疏风宣肺、止咳化痰,用于咳嗽属风邪犯肺证,症见咳嗽、咽痒、鼻塞流涕等。该产品在近年中国零售药店终端销售额保持增长态势,2025年上半年已超过1亿元,同比增长10.18%,晋身到止咳祛痰平喘中成药品牌TOP10之列。


