糖尿病“药王”易主!独家注射剂暴涨3180%,扬子江、甘李上榜TOP20,信达、博安生物新药亮眼
编辑说:日前,国家药监局官网显示,江苏康缘药业的恩格列净片、成都康弘药业的依帕司他片等糖尿病药同日获批。米内网数据显示,糖尿病用药(化+生)在2025年上半年中国零售药店终端销售额同比增长超过10%。从TOP20来看,药王“易主”,独家注射剂暴涨3180%,扬子江药业、甘李药业上榜。今年以来,糖尿病用药已有超过40个品种报产在审,其中,7个为新药,涉及恒瑞医药、东阳光药、华东医药等企业。
来源:米内网原创 2025-10-10 16:57糖尿病用药
日前,国家药监局官网显示,江苏康缘药业的恩格列净片、成都康弘药业的依帕司他片等糖尿病药同日获批。米内网数据显示,糖尿病用药(化+生)在2025年上半年中国零售药店终端销售额同比增长超过10%。从TOP20来看,药王“易主”,独家注射剂暴涨3180%,扬子江药业、甘李药业上榜。今年以来,糖尿病用药已有超过40个品种报产在审,其中,7个为新药,涉及恒瑞医药、东阳光药、华东医药等企业。
康缘、康弘拿下畅销糖尿病药,信达、博安生物新药亮眼
近日,国家药监局官网显示,江苏康缘药业的恩格列净片、云鹏医药的恩格列净片、成都康弘药业的依帕司他片同日获批。
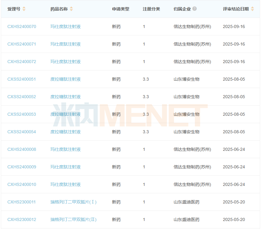
在此之前,甘李药业山东的利格列汀片、成都恒瑞制药的瑞格列奈片、信达生物制药(苏州)的玛仕度肽注射液也是同日获批。其中,信达生物的玛仕度肽注射液为第二项适应症,用于成人2型糖尿病患者的血糖控制,该产品是全球首个获批用于2型糖尿病的GCG/GLP-1双受体激动剂。资料显示,玛仕度肽当前共开展/完成7项III期临床研究,包括在初治的中国2型糖尿病患者中开展的III期临床研究、在口服药物治疗血糖控制不佳的中国2型糖尿病参与者中开展的对比玛仕度肽和度拉糖肽的III期临床研究等3项均已达成终点,此外,还有多项新临床研究进行中。
今年以来,糖尿病用药(化+生)已有超过140个受理号获批上市,涉及品种超过40个。其中7个为新药,信达生物制药(苏州)的玛仕度肽注射液、山东盛迪医药的瑞格列汀二甲双胍片(Ⅰ)和瑞格列汀二甲双胍片(Ⅱ)、石药欧意药业的普卢格列汀片等为1类新药,山东博安生物的度拉糖肽注射液为全球首个获批的度拉糖肽生物类似药。
“药王”易主!独家注射剂暴涨3180%,扬子江、甘李上榜TOP20
米内网数据显示,糖尿病用药(化+生)在2024年中国零售药店(城市实体药店+网上药店)终端市场销售额突破130亿元,2025年上半年同比增长超过10%。其中,城市实体药店是主力销售渠道,网上药店则保持双位数增速。
GLP-1受体激动剂、SGLT2抑制剂、胰岛素及其类似药是TOP3治疗小类,口服降糖药复方持续快速增长,同时也是2025年上半年增速最快的治疗小类,同比增长超过30%。从剂型来看,片剂和注射剂为两大主流剂型,合计市场份额占比超过95%。从在销品种数量来看,涉及近150个产品,超过650个品牌,增长均超过5%。
集团TOP20中,跨国药企占据前列位置,诺和诺德、阿斯利康、默克位居前三,国内药企仅远大健康和扬子江药业在前十之列,远大健康、甘李药业、华领医药、正大制药等均有双位数增速。
产品TOP20销售额均超过1亿元,达格列净片以超10亿元领跑,重返“销冠”宝座;司美格鲁肽注射液和盐酸二甲双胍片分别位居第二、第三,销售额超过9亿元和6亿元。
从增速来看,替尔泊肽注射液暴涨3180.12%,达格列净片、盐酸二甲双胍片、甘精胰岛素注射液等9个产品有双位数增速。
品牌TOP20中,阿斯利康的达格列净片、诺和诺德的司美格鲁肽注射液、默克的盐酸二甲双胍片位居前三;4个国产品牌上榜,杭州中美华东制药的吡格列酮二甲双胍片(15mg/500mg)、扬子江南京海陵药业的依帕司他片销售额均超过1亿元,甘李药业的甘精胰岛素注射液、华领医药(上海)的多格列艾汀片均有双位数增速。
正增长品牌中,礼来的替尔泊肽注射液凭借3180.12%的增速挺进TOP10品牌,诺和诺德的德谷胰岛素利拉鲁肽注射液增速超过50%。从集团来看,诺和诺德最多,有7个品种上榜;默沙东和赛诺菲各有2个品种上榜。
达格列净片是阿斯利康研发的SGLT2抑制剂,近年在中国零售药店终端市场规模持续扩容,销售额保持双位数增速,2025年上半年同比增长17.15%。目前,该产品已有30家企业拥有生产批文,天津力生制药、辰欣药业、湖南千金湘江药业等超过30家企业报产在审,竞争十分激烈。
司美格鲁肽注射液是一款新型长效胰高糖素样肽-1(GLP-1)类似物,在2024年中国零售药店终端突破20亿元的销售规模,2025年上半年同比有所下滑。目前,司美格鲁肽注射液仅诺和诺德拥有生产批文,但国内药企已纷纷出手布局。不久前,翰宇药业发布公告,公司向特定对象发行股票拟募集资金总额不超过9.68亿元用于五大项目,其中,司美格鲁肽研发项目拟使用募集资金金额近1亿元,包括司美格鲁肽国内上市注射剂(降糖适应症)和司美格鲁肽美国上市口服片(降糖适应症)。今年以来,司美格鲁肽注射液已有成都倍特生物制药、石药百克(山东)生物制药、惠升生物制药等5家国内药企报产在审,山东新时代药业、海南中和药业、太极集团重庆涪陵制药等6家获批临床。
重磅新品不断,恒瑞、东阳光药……火热来袭
10月9日,CDE官网显示,江苏亚邦爱普森药业的达格列净二甲双胍缓释片(I)和达格列净二甲双胍缓释片(III)以仿制4类报产获受理。在此之前,浙江普洛康裕制药的二甲双胍恩格列净缓释片、重庆药友制药的瑞格列奈片等产品先后提交上市申请获受理。
今年以来,糖尿病用药(化+生)已有超过230个受理号报产在审,涉及品种超过40个,其中7个品种是新药。从企业层面来看,恒瑞医药、东阳光药、华东医药等各有2个品种报产在审。2022年至今,糖尿病用药(化+生)新药共有15个品种报产在审。


