第十一批集采5个吸入剂备战,2个20亿大品种在列!正大天晴、普锐特、齐鲁……猛攻超200亿市场
编辑说:近日,吸入剂市场波澜再起。普锐特的瑞维那新吸入溶液、南新制药的盐酸左沙丁胺醇雾化吸入溶液报产在审,海南斯达制药的硫酸特布他林雾化吸入用溶和北京柏雅联合药物研究所的盐酸丙卡特罗吸入溶液获批上市。截至目前,吸入剂有超过40个品种报产在审,普锐特、正大天晴、齐鲁制药、长风药业等多家企业冲刺首仿。米内网数据显示,吸入剂在近年中国公立医疗机构终端销售规模均超过200亿元,2024年同比下滑1%。第十一批集采蓄势待发,5个吸入剂备战,其中2个品种销售额超过20亿元。
来源:米内网原创 2025-06-20 15:55吸入剂集采
近日,吸入剂市场波澜再起。普锐特的瑞维那新吸入溶液、南新制药的盐酸左沙丁胺醇雾化吸入溶液报产在审,海南斯达制药的硫酸特布他林雾化吸入用溶和北京柏雅联合药物研究所的盐酸丙卡特罗吸入溶液获批上市。截至目前,吸入剂有超过40个品种报产在审,普锐特、正大天晴、齐鲁制药、长风药业等多家企业冲刺首仿。米内网数据显示,吸入剂在近年中国公立医疗机构终端销售规模均超过200亿元,2024年同比下滑1%。第十一批集采蓄势待发,5个吸入剂备战,其中2个品种销售额超过20亿元。
40个吸入剂接连获批,5个产品备战第十一批集采
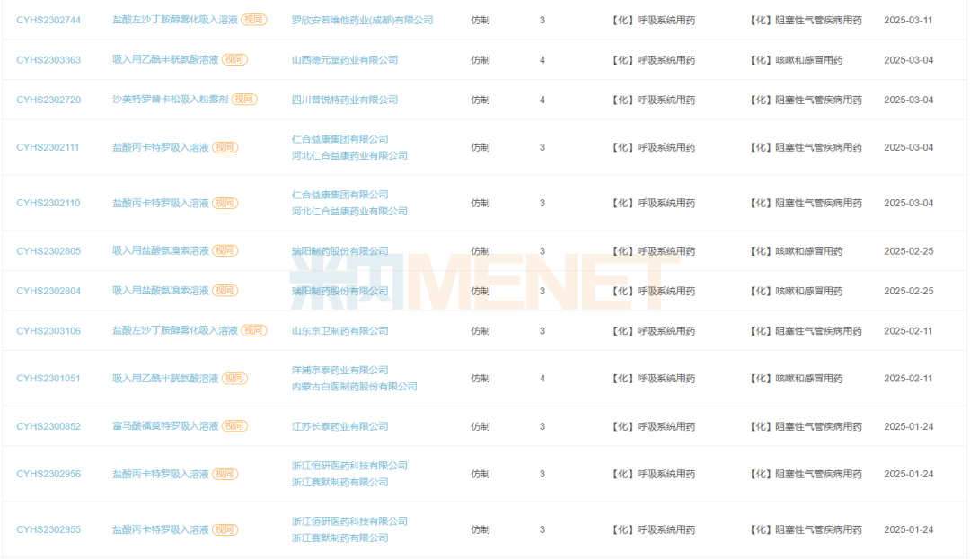
今年以来获批上市的吸入剂
来源:米内网中国申报进度(MED)数据库
日前,海南斯达制药的硫酸特布他林雾化吸入用溶和北京柏雅联合药物研究所的盐酸丙卡特罗吸入溶液均以新分类报产同日获批。米内网数据显示,今年以来,吸入剂已有40个新产品获批上市。
截至目前,吸入剂已有24个品种(274个品规)通过/视同通过一致性评价,吸入用乙酰半胱氨酸溶液、硫酸特布他林雾化吸入用溶液、吸入用异丙托溴铵溶液、吸入用硫酸沙丁胺醇溶液、盐酸左沙丁胺醇雾化吸入溶液过评企业均超过20家,吸入用地氟烷(恒瑞医药)、氮䓬斯汀氟替卡松鼻喷雾剂/盐酸氮䓬斯汀丙酸氟替卡松鼻喷雾剂(长风药业)、沙美特罗替卡松吸入粉雾剂(健康元药业)等8个品种为独家过评。
从集团过评品种数量来看,仁合益康、倍特药业各有10个,健康元药业有9个,海南斯达制药、山东京卫制药各有6个,科伦药业、湖南华纳大药厂、苏州弘森药业、天津医药、合肥力成药业、长风药业各有5个。
满足7家及以上的吸入剂产品竞争格局
来源:米内网中国上市药品(MID)数据库
5个吸入剂产品满足7家及以上的竞争格局,涉及康恩贝、葫芦娃药业、倍特药业、鲁南制药、长风药业等数十家企业。其中,吸入用七氟烷和吸入用乙酰半胱氨酸溶液在2024年中国城市公立医院、县级公立医院、城市社区中心以及乡镇卫生院(简称中国公立医疗机构)终端是20亿元级别大品种,分别是吸入剂TOP2、TOP3产品。
TOP20洗牌!60亿大品种“腰斩”后回升,6个品牌大涨
近年中国公立医疗机构终端吸入剂(化+生+中)保持200亿元以上销售规模,2024年同比略有下滑。从TOP20集团来看,阿斯利康、葛兰素史克、恒瑞医药、正大制药、健康元药业位居前五,济南景笙科技增速翻倍,倍特药业、长风药业、仁合益康等增速均超过10%。
2024年中国公立医疗机构终端吸入剂产品TOP20
来源:米内网中国公立医疗机构药品终端竞争格局
注:标红为增速超10%
产品TOP20中,吸入用布地奈德混悬液、吸入用七氟烷、吸入用乙酰半胱氨酸溶液位居前三,富马酸福莫特罗吸入溶液凭借超过300%的强劲增速上榜,也是TOP20增速最快的产品。
2024年中国公立医疗机构终端吸入剂品牌TOP20
来源:米内网中国公立医疗机构药品终端竞争格局
注:标红为增速超10%
品牌TOP20中,阿斯利康的布地奈德福莫特罗吸入粉雾剂(Ⅱ)以超20亿元销售规模领跑,上海恒瑞医药的吸入用七氟烷、阿斯利康的吸入用布地奈德混悬液和布地格福吸入气雾剂、葛兰素史克的沙美特罗替卡松吸入粉雾剂、正大天晴药业集团的吸入用布地奈德混悬液均超过10亿元。
从企业品牌数量来看,阿斯利康(布地奈德福莫特罗吸入粉雾剂(Ⅱ)、吸入用布地奈德混悬液、布地格福吸入气雾剂)和葛兰素史克(沙美特罗替卡松吸入粉雾剂、氟替美维吸入粉雾剂、丙酸氟替卡松雾化吸入用混悬液)各有3个上榜,健康元(吸入用布地奈德混悬液、盐酸左沙丁胺醇雾化吸入溶液)和正大天晴药业集团(吸入用布地奈德混悬液、噻托溴铵粉雾剂)各有2个上榜。
6个品牌销售额有双位数增速,阿斯利康的布地格福吸入气雾剂和葛兰素史克的氟替美维吸入粉雾剂均大涨超过30%。
6个集采品种近年中国公立医院终端市场份额变化
来源:米内网中国公立医疗机构药品终端竞争格局
目前,吸入剂已有6个产品被纳入集采,除了吸入用复方异丙托溴铵溶液外,其余5个均在吸入剂产品TOP20之列。其中,吸入用布地奈德混悬液在中国公立医疗机构终端吸入剂产品中连续多年稳居“销冠”宝座,2021年销售规模超过60亿元,2022年受集采影响下跌超过50%,2023年-2024年止跌回升,分别同比增长22.61%、6.34%。在品牌TOP20中,吸入用布地奈德混悬液占据5个席位,4个国产品牌均为正增长,四川普锐特药业大涨27.08%、长风药业大涨26.86%、正大天晴药业集团大涨16.84%。
首仿、1类新药蜂拥而至,正大天晴、普锐特、齐鲁……猛攻超200亿市场
6月19日,CDE官网显示,四川普锐特药业的瑞维那新吸入溶液以仿制4类报产在审,该产品用于慢性阻塞性肺病(COPD)的维持治疗。在此之前,广州南新制药的盐酸左沙丁胺醇雾化吸入溶液以仿制3类报产在审。
截至目前,吸入剂有超过40个品种(超过150个受理号)报产在审,4个产品火热,吸入用乙酰半胱氨酸溶液、富马酸福莫特罗吸入溶液、盐酸丙卡特罗吸入溶液、盐酸左沙丁胺醇雾化吸入溶液均超过10家企业报产。
瑞维那新吸入溶液、乌美溴铵维兰特罗吸入粉雾剂、布地奈德福莫特罗吸入粉雾剂(Ⅱ)、沙美特罗替卡松吸入气雾剂、糠酸氟替卡松鼻用喷雾剂、酒石酸阿福特罗雾化吸入溶液等多个品种暂无仿制药获批,四川普锐特药业、正大天晴药业集团、上海新黄河制药、齐鲁制药、长风药业等多家企业冲刺首仿。
今年以来获批临床的吸入剂1类新药
来源:米内网中国申报进度(MED)数据库
今年以来,吸入剂1类新药已有6个产品获批临床,包括四川普锐特药业的PRT-064040鼻喷雾剂、北京泰德制药的CPD704吸入混悬液、西藏海思科制药的HSK39004吸入粉雾剂等。目前,吸入剂1类新药已有29个获批临床,其中25个是呼吸系统用药。
资料来源:米内网数据库、公司公告等
注:米内网《中国公立医疗机构药品终端竞争格局》,统计范围是:中国城市公立医院、县级公立医院、城市社区中心以及乡镇卫生院,不含民营医院、私人诊所、村卫生室;上述销售额以产品在终端的平均零售价计算。如有疏漏,欢迎指正!


