33款止咳祛痰平喘中成药亮了!独家品种暴涨168%,扬子江、济川、太极、达仁堂上榜
编辑说:止咳祛痰平喘中成药为家中常备药品。米内网最新数据显示,2024年中国三大终端六大市场(统计范围详见本文末)止咳祛痰平喘中成药销售额超过300亿元,康缘、悦康等1类新药冲刺上市;院内市场中,20亿大品种领跑,扬子江“称王”;零售药店中,独家品种大涨168%,国药、华润霸榜。
来源:米内网原创 2025-05-21 09:49止咳祛痰平喘中成药
精彩内容
止咳祛痰平喘中成药为家中常备药品。米内网最新数据显示,2024年中国三大终端六大市场(统计范围详见本文末)止咳祛痰平喘中成药销售额超过300亿元,康缘、悦康等1类新药冲刺上市;院内市场中,20亿大品种领跑,扬子江“称王”;零售药店中,独家品种大涨168%,国药、华润霸榜。
300亿市场承压!康缘、悦康1类新药冲刺
上呼吸道感染是日常生活中的常见病、多发病,因此止咳祛痰平喘中成药成为家庭药箱中的常备药品,也是呼吸系统中成药主要细分品类。
米内网数据显示,2023年中国三大终端六大市场止咳祛痰平喘中成药销售额突破300亿元,同比增长约28%,超越疫情前水平,并创下历史新高;2024年同比略有下滑,销售额维持在300亿元以上。
近年来中国三大终端六大市场止咳祛痰平喘中成药销售情况(单位:万元)
来源:米内网格局数据库
从2024年止咳祛痰平喘中成药细分终端销售看,零售药店(城市实体药店+网上药店)终端为主渠道,销售额突破150亿元,同比有2.8%的增长,占比超过49%;公立医院(城市公立医院+县级公立医院)终端销售额有约7%的下滑,占比超过31%;公立基层医疗(城市社区中心+乡镇卫生院)终端销售额有约1.9%的略微下滑,占比超过19%。
在止咳祛痰平喘中成药领域,2020年至今,国内有2款中药1.1类创新药(按中药新注册管理办法计)获批上市,为以岭药业的连花清咳片、卓和药业的九味止咳口服液,两者均已纳入国家医保乙类目录。
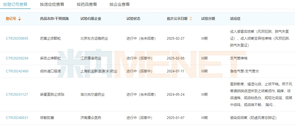
此外,据不完全统计,目前国内还有1款中药1.1类新药提交NDA在审,为悦康药业的紫花温肺止嗽颗粒,该药具有疏风止咳、温肺化痰的功效,用于治疗感染后咳嗽(风寒恋肺证);北京东方运嘉科技的苏黄止咳颗粒、江苏康缘药业的麻杏止哮颗粒、上海凯宝的痰热清口服液、湖北佑尔盛药业的麻星宣肺止咳贴、济南康众医药的咳敏胶囊等中药新药处于III期临床。
国内部分处于III期临床的止咳祛痰平喘中药新药
来源:米内网中国临床试验数据库
院内市场20亿大品种领跑,扬子江“称王”
在中国城市公立医院、县级公立医院、城市社区中心以及乡镇卫生院(简称中国公立医疗机构)终端,止咳祛痰平喘中成药于2023年收获超160亿元的销售峰值,2024年有所回落,销售额超过150亿元。
一级集团销售额排名中,扬子江药业、贵州健兴药业、凯宝药业依次位列前三,市场份额分别超过14%、11%、8%;位列第四的国药集团销售额同比增长约12%,贵州健兴药业、甘肃普安制药、广药集团等均有个位数的增长。
2024年中国公立医疗机构终端止咳祛痰平喘中成药TOP10一级集团
来源:米内网中国公立医疗机构药品终端竞争格局
TOP20品牌中,扬子江海燕药业的苏黄止咳胶囊连续6年位列第一,近3年来销售额均超过20亿元;贵州健兴药业的肺力咳合剂、上海凯宝药业的痰热清注射液分别位列第二、第三,销售额均超过10亿元;太极集团重庆涪陵制药的急支糖浆位列第四,哈尔滨康隆药业的强力枇杷露位列第五,市场份额均超过4%。
2024年中国公立医疗机构终端止咳祛痰平喘中成药TOP20品牌
来源:米内网综合数据库
2家药企均有2个品牌上榜,为济川药业的三拗片(独家)及黄龙止咳颗粒(独家),广药集团的蜜炼川贝枇杷膏(独家)及养阴清肺膏;此外,扬子江海燕药业的苏黄止咳胶囊、贵州健兴药业的肺力咳合剂、上海凯宝药业的痰热清注射液、太极集团的急支糖浆、甘肃普安制药的宣肺止嗽合剂、康缘药业的杏贝止咳颗粒、津药达仁堂集团的清肺消炎丸等独家品种亦在列。
从销售额变化上看,4个品牌涨逾10%。其中,陕西东科制药的独家品种黄龙止咳颗粒大涨33.02%,较2023年提升3个位次;桂林三金药业的独家品种蛤蚧定喘胶囊涨28.38%,首次上榜TOP20品牌;白云山潘高寿药业的养阴清肺膏涨14.6%,较2023年提升3个位次;太极集团重庆涪陵制药的独家品种急支糖浆涨超13%,较2023年提升1个位次。
急支糖浆为国家医保乙类、OTC甲类(双跨)品种,具有清热化痰、宣肺止咳的功效,用于治疗外感风热所致的咳嗽。该产品近年来在中国公立医疗机构终端的销售额均以两位数的增速持续增长,2024年突破7亿元,为太极集团院内市场最为畅销的中成药。
近年来中国公立医疗机构终端急支糖浆销售情况(单位:万元)
来源:米内网中国公立医疗机构药品终端竞争格局
蛤蚧定喘胶囊为国家医保乙类、OTC甲类品种,具有滋阴清肺、止咳平喘的功效,用于肺肾两虚、阴虚肺热所致的虚劳咳喘、气短胸满、自汗盗汗等。2022-2024年,蛤蚧定喘胶囊在中国公立医疗机构终端分别以157.57%、156.14%、28.38%的增速增长,2024年突破1亿元,为三金药业院内市场第三畅销的中成药。
近年来中国公立医疗机构终端蛤蚧定喘胶囊销售情况(单位:万元)
来源:米内网中国公立医疗机构药品终端竞争格局
零售药店独家品种大涨174%,国药、华润霸榜
在零售药店(城市实体药店+网上药店)终端,止咳祛痰平喘中成药近年来销售额持续上涨,2024年突破150亿元,创下新高。
一级集团销售额排名中,京都念慈菴总厂、国药集团、广药集团依次位列前三,销售额分别超过18亿元、17亿元、9亿元;位列第九的红云制药同比增长约50%,广药集团同比增长25.65%,浙江天皇药业、扬子江药业、国药集团等均有个位数的增长。
2024年中国零售药店终端止咳祛痰平喘中成药TOP10一级集团
来源:米内网格局数据库
TOP20品牌中,京都念慈菴总厂的京都念慈菴蜜炼川贝枇杷膏连续多年蝉联榜首,2024年销售额超过18亿元;太极集团重庆涪陵制药的急支糖浆位列第二,销售额超过11亿元;浙江天皇药业的铁皮枫斗颗粒以超8亿元位列第三,较2023年提升1个位次。
2024年中国零售药店终端止咳祛痰平喘中成药TOP20品牌
注:标红为销售额增速超10%;带*为独家品种
来源:米内网综合数据库
华润医药、国药集团、红云制药均有2个及以上的品牌上榜,其中国药集团的急支糖浆、虫草清肺胶囊,红云制药的益肺止咳胶囊为独家品种;此外,京都念慈菴总厂的京都念慈菴蜜炼川贝枇杷膏、浙江天皇药业的铁皮枫斗颗粒、扬子江海燕药业的苏黄止咳胶囊、丽彩甘肃西峰制药的补肺丸、先声药业的咳喘宁口服液等独家品种亦在列。
浙江天皇药业的铁皮枫斗颗粒为OTC乙类品种,具有益气养阴、养胃生津的功效,适用于气阴两虚所致的干咳,口燥咽干等。米内网数据显示,该产品近年来在中国零售药店终端的销售额逐年上涨,2023年突破8亿元,2024年接近9亿元。
近年来中国零售药店终端铁皮枫斗颗粒销售情况(单位:万元)
来源:米内网格局数据库
从销售额增长情况看,6个品牌销售额增逾10%,青海普兰特药业的虫草清肺胶囊大涨168.49%,红云制药的益肺止咳胶囊及清肺抑火胶囊分别大涨53.44%、48.49%,先声药业的咳喘宁口服液、广州诺金制药的百合固金片均涨超20%。
先声药业的独家品种咳喘宁口服液为国家医保乙类、OTC甲类品种,具有宣通肺气、止咳平喘之功效,用于久咳、痰喘见于痰热证候者。2022-2024年期间,咳喘宁口服液在中国零售药店终端销售额均以两位数的增速增长,2024年接近1.5亿元。
近年来中国零售药店终端咳喘宁口服液销售情况(单位:万元)
来源:米内网格局数据库
注:米内网《中国城市实体药店药品终端竞争格局》,统计范围是:全国地级及以上城市实体药店,不含县乡村药店;《中国网上药店药品终端竞争格局》,统计范围是:全国网上药店所有药品数据,包括天猫、京东等第三方平台及私域平台上所有网上药店药品数据。上述销售额以产品在终端的平均零售价计算。数据统计截至5月16日,如有疏漏,欢迎指正!


