19个超$10亿品种首仿在路上!正大天晴、豪森、齐鲁......出击,5个国内销售破10亿
编辑说:日前,先声药业拿下伊布替尼首仿,原研产品2021年全球销售额达97.8亿美元。凭借着市场和定价优势,首仿药一直以来都是国内药企研发布局的重点。据不完全统计,2021年全球销售额超过10亿美元且在国内暂无首仿获批的明星药中,有19个品种已有药企布局仿制药,其中5个品种2021年在三大终端6大市场(统计范围详见本文末)的销售额超过10亿元。
来源:米内网原创 2022-10-20 09:34首仿玲珑
精彩内容
日前,先声药业拿下伊布替尼首仿,原研产品2021年全球销售额达97.8亿美元。凭借着市场和定价优势,首仿药一直以来都是国内药企研发布局的重点。据不完全统计,2021年全球销售额超过10亿美元且在国内暂无首仿获批的明星药中,有19个品种已有药企布局仿制药,其中5个品种2021年在三大终端6大市场(统计范围详见本文末)的销售额超过10亿元。
从企业申报情况看,中国生物制药布局了8个品种,其中芦可替尼、依维莫司、氟替卡松维兰特罗为独家申报;齐鲁制药布局了7个品种,其中多替拉韦、利奥西呱、奥拉帕利为独家/首家申报;此外,科伦药业、倍特药业、宣泰医药等均布局了3个品种。
2021全球销售超10亿美元且国内暂无首仿获批的品种
注:无销售或销售额低于1亿元用*代表
来源:米内网数据库
奥希替尼
奥希替尼是由阿斯利康研发的第三代口服、不可逆的选择性EGFR突变抑制剂,最早于2015年11月获得FDA批准上市,2021年全球销售额达50.15亿美元,同比增长约16%。
2017年3月,阿斯利康的奥希替尼首次获批进入国内市场,2018年通过谈判纳入全国医保乙类目录,2020年成功续签,一线及二线适应症全部纳入,有望实现进一步放量。米内网数据显示,2021年中国三大终端6大市场奥希替尼销售规模超过48亿元,同比增长6.06%。
近年来中国三大终端6大市场奥希替尼销售情况(单位:万元)
来源:米内网数据库
奥希替尼国内化合物专利CN103702990将于2032年7月到期,目前仅江苏万邦生化布局仿制药,其产品于2020年8月完成BE试验,并于2021年5月以仿制4类递交上市申请。
甲磺酸奥希替尼片新分类报产情况
来源:米内网新版数据库
沙库巴曲缬沙坦
沙库巴曲缬沙坦是由沙库巴曲(脑啡肽酶抑制剂)和缬沙坦(血管紧张素受体拮抗剂)组成的复方制剂,最早于2015年7月获得FDA批准上市,是全球首款心衰治疗领域的突破性创新药物,2021年全球销售额达35.48亿美元,同比增长约42%。
2017年7月,诺华的沙库巴曲缬沙坦首次获批进入国内市场,2019年通过谈判纳入全国医保乙类目录,2021年成功续签,并新增原发性高血压适应症。米内网数据显示,近年在中国三大终端6大市场沙库巴曲缬沙坦的销售增速均达三位数,2021年首次突破20亿元,同比增长127.62%。
近年来三大终端6大市场沙库巴曲缬沙坦销售情况(单位:万元)
来源:米内网数据库
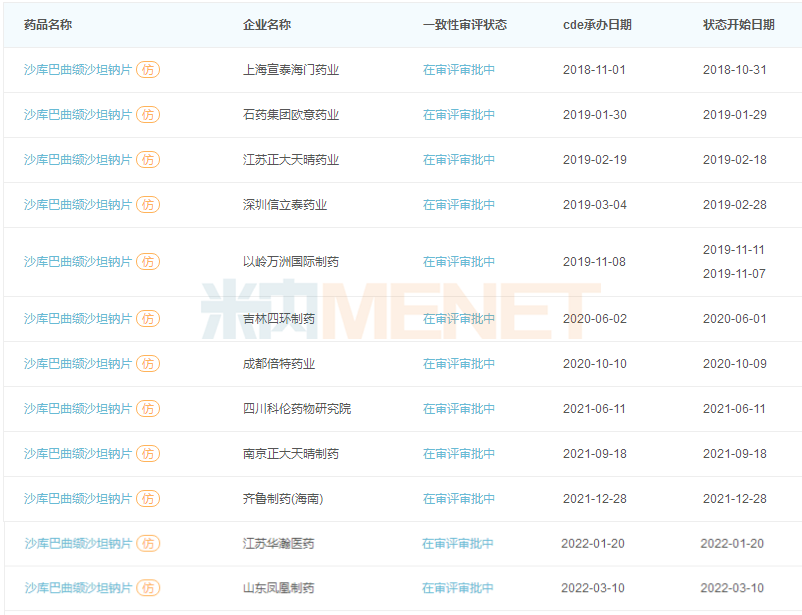
虽然沙库巴曲缬沙坦专利还未到期,但国内已有超过10家药企以仿制4类提交该产品上市申请,其中上海宣泰海门药业最早报产,其上市申请于2018年11月获得CDE承办受理,目前正处于第二轮资料发补。此外,石药欧意、正大天晴等企业的产品处于第一轮资料发补。
沙库巴曲缬沙坦钠片新分类报产情况
来源:米内网新版数据库
奥拉帕利
奥拉帕利属于PARP抑制剂,通过抑制PARP,减少甚至阻止携带有受损BRCA基因的癌细胞进行DNA修复,达到杀死癌细胞死亡的目的。该产品由阿斯利康/默沙东联合研发,最早于2014年12月获得FDA批准上市,为全球首款PARP抑制剂,2021年全球销售额达33.37亿美元。
2018年8月,阿斯利康的奥拉帕利首次获批进入国内市场,2019年通过谈判纳入全国医保乙类目录,2020年成功续签并新增适应症。米内网数据显示,近年来奥拉帕利在中国三大终端6大市场的销售规模逐年上涨,2021年首次突破10亿元,同比增长23.08%。
近年来中国三大终端6大市场奥拉帕利销售情况(单位:万元)
来源:米内网数据库
据悉,奥拉帕利的化合物专利将于2024年到期,目前国内有3家药企以新注册分类提交该产品上市申请,包括齐鲁制药、宣泰医药及湖南科伦制药,其中齐鲁制药首家报产,目前处于第一轮资料发补。
奥拉帕利片新分类报产情况
来源:米内网新版数据库
布地奈德福莫特罗
布地奈德福莫特罗是由布地奈德(糖皮质激素)和福莫特罗(长效β2-受体激动剂)组成的复方吸入剂,用于治疗哮喘、慢性阻塞性肺疾病等。虽然布地奈德福莫特罗专利已到期,但其全球销售额并未出现断崖式下滑,2021年仍实现27.28亿美元的销售收入。
阿斯利康的布地奈德福莫特罗进入国内市场的时间较早,近年来在中国三大终端6大市场的销售额逐年上涨,2018年首次突破20亿元,2021年超过28亿元,同比增长10.35%。
近年来中国三大终端6大市场布地奈德福莫特罗销售情况(单位:万元)
来源:米内网数据库
目前布局布地奈德福莫特罗仿制药的企业并不多,作为国内以吸入剂为主赛道之一的普锐特(倍特药业子公司),最早布局布地奈德福莫特罗仿制药。公司于2017年12月以仿制3类提交布地奈德福莫特罗吸入气雾剂上市申请,目前正在开展III期临床。
布地奈德福莫特罗吸入剂新分类申报情况
来源:米内网新版数据库
沙美特罗替卡松
沙美特罗替卡松是由沙美特罗(长效β2-受体激动剂)和氟替卡松(糖皮质激素)组成的复方吸入剂,可治疗哮喘、慢性阻塞性肺炎等。作为葛兰素史克的重磅品种之一,沙美特罗替卡松2013年全球销售额超过50亿美元,之后随着专利到期开始下滑,但2021年仍超过10亿美元。
葛兰素史克的沙美特罗替卡松进入国内市场的时间也较早,近年来在中国三大终端6大市场的销售额有所波动,2021年接近20亿元,同比增长6.23%。
近年来中国三大终端6大市场沙美特罗替卡松销售情况(单位:万元)
来源:米内网数据库
目前有超10家药企布局沙美特罗替卡松仿制药,包括正大天晴、恒瑞、健康元等知名药企,但由于仿制壁垒较高,至今国内仍未有仿制药获批。
沙美特罗替卡松吸入剂新分类申报情况
来源:米内网新版数据库
结语
在一致性评价持续推进、集采常态化开展、医保常态化调整等政策推动下,叠加药审改革全面推进,“专利链接制度”并引入“首仿独占期”,以及国内药企对药品专利认知的深入,国内药企除了加速对创新药的布局之外,对具有市场及定价优势的首仿药的争夺也将日益激烈,尤其是全球销售超10亿美元的重磅品种。
资料来源:米内网数据库注:米内网《中国三大终端6大市场竞争格局》,统计范围是:城市公立医院和县级公立医院、城市社区中心和乡镇卫生院、城市实体药店和网上药店,不含民营医院、私人诊所、村卫生室,不含县乡村药店;上述销售额以产品在终端的平均零售价计算。数据统计截至10月17日,如有疏漏,欢迎指正!


