人福医药火力全开!中枢神经药物大卖92亿,40多款新药攻势凌厉,15个亿级产品曝光
编辑说:神经系统药物龙头集团人福医药发布了2025年业绩,营业收入稳坐200亿梯队,净利润大涨39.53%,超过18亿元。近期,集团成功拿下了枸橼酸芬太尼口颊片的国内首仿,1类新药RFUS-1646片顺利获批临床,集团的创新成果逐步进入丰收期。2025年在中国三大终端六大市场,人福医药有15个产品销售额超过1亿元,其中1类新药注射用苯磺酸瑞马唑仑再创新高。
来源:米内网原创 2026-04-15 09:04人福医药
神经系统药物龙头集团人福医药发布了2025年业绩,营业收入稳坐200亿梯队,净利润大涨39.53%,超过18亿元。近期,集团成功拿下了枸橼酸芬太尼口颊片的国内首仿,1类新药RFUS-1646片顺利获批临床,集团的创新成果逐步进入丰收期。2025年在中国三大终端六大市场,人福医药有15个产品销售额超过1亿元,其中1类新药注射用苯磺酸瑞马唑仑再创新高。
净利润猛涨近四成,中枢神经药物大卖92亿
人福医药成立于1993年,经过30多年的发展,已在中枢神经、甾体激素及两性健康、维吾尔药等细分领域建立了领先地位。近期,人福医药公布了2025年的业绩情况,集团实现营业收入239.6亿元,产品综合毛利率提升至48.21%,通过精细化管理、薪酬体系优化、控制负债规模并降低融资成本等方式,集团的净利润同比增长了39.53%,达18.55亿元。
人福医药的中枢神经药物2025年营业收入达92.3亿元,同比增长了1.65%,毛利率达86.32%,提升了0.34个百分点,集团的甾体激素及两性健康药物、维吾尔药也有超过10亿元的营收。
人福医药表示,在2026年将紧密围绕研发、生产、营销等核心关键工作精准发力,确保各项业务持续、健康、有序发展,计划实现营业收入245亿元以上,产品综合毛利率48%以上。
研发投入创新高,40多款新药全力冲刺
人福医药坚持自主研发创新,持续加大研发投入,近几年在小分子创新药、大分子创新药、中药(民族药)以及改良制剂创新品种方面均有布局,正处在从以仿制药为主的研发逐步转变向创新药为主的研发转型过程中。2025年集团的研发投入合计为16.76亿元,同比增长了2.84%,占营业收入的比例升至6.99%。
2025年8月,人福医药的化药1类新药注射用苯磺酸瑞马唑仑获批了新适应症,作为镇静药物用于重症监护期间机械通气时的镇静,该产品早前已获批的适应症包括了非气管插管的手术/操作中的镇静和麻醉、全身麻醉诱导与维持,2025年该新药在中国三大终端六大市场(统计范围见文末)的销售额涨至3.7亿元。
2025年7月,人福医药提交了真武汤颗粒的中药3.1类新药上市申请,该产品是集团继芍药甘草汤颗粒(2024年获批)后布局的第二款古代经典名方,集团有望争取该产品的国产第二家获批。
2026年至今,集团陆续提交了盐酸纳布啡注射液的新适应症上市申请,以及改良新药氨酚羟考酮缓释片的上市申请。
米内网数据显示,人福医药是盐酸纳布啡注射液的首仿企业,已获批上市的适应症是作为镇痛药用于复合麻醉时的麻醉诱导、术后镇痛,2025年该品牌在中国三大终端六大市场的销售额超过7.1亿元。本次申报上市的新适应是用于重症监护病房患者的镇痛(ICU镇痛),人福医药在公告中提到,目前盐酸纳布啡注射液在全球范围内均无ICU镇痛相关适应症获批上市。
氨酚羟考酮缓释片是在已上市的氨酚羟考酮片基础上进行的改良,具有速释层和缓释层的双层设计,在达到快速起效的同时又能够保持长效的镇痛效果,人福医药申报上市的适应症为适用于严重程度足以需要使用阿片类镇痛剂且其他替代治疗不充分的中、重度疼痛的治疗。
今年以来,化药1类新药HW221043片和RFUS-1646片陆续获批临床,化药1类新药RFUS-188注射液和化药2类新药盐酸R-氯胺酮注射液陆续申报临床并在审,人福医药的新药矩阵越来壮大。
40多款新药攻势凌厉,目前进度最快的是注射用RF16001和氨酚氢可酮缓释片,两款产品皆为化药2类改良新药,已在III期临床阶段,离报产仅一步之遥。1类新药方面,重组质粒-肝细胞生长因子注射液计划重新申报上市,HW091077片、RFUS-144注射液、HW231019片、HWH486胶囊、HW021199片、HWH340片、玉蚕颗粒、复方薏薢颗粒、白热斯丸均在II期临床阶段,集团的新药研发已处于“上市一批、临床一批、开发一批”的良性循环。
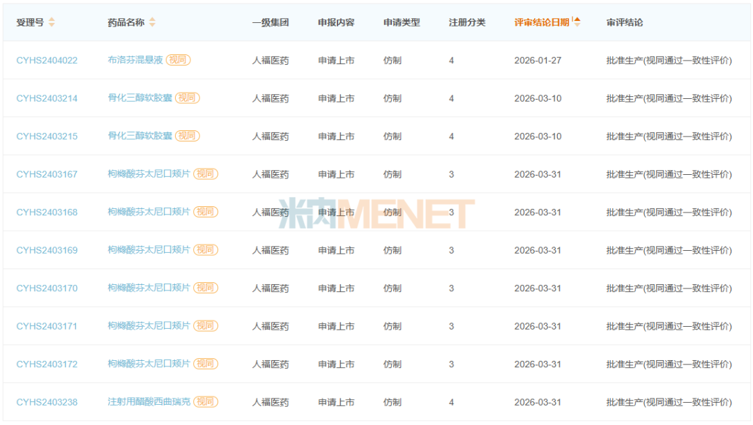
仿制药方面,人福医药2026年至今已累计拿下了布洛芬混悬液、骨化三醇软胶囊、枸橼酸芬太尼口颊片、注射用醋酸西曲瑞克4个新产品,其中枸橼酸芬太尼口颊片为国内首仿+首家过评(现为独家产品)。据统计,2024年至今人福医药报产在审的仿制药新品还有30多个。
千亿市场绝对领军,15个亿级产品超亮眼
在中国三大终端六大市场,神经系统药物(化+生)的销售规模一直保持在1000亿元以上,2024-2025年连续负增长。人福医药在2023年成功登顶TOP1集团(一级,下同),近几年销售额一直保持正增长,市场份额从2019年的4.24%一路飙涨至2025年的9.26%,与TOP2集团的差距拉开1.9%,拥有绝对的领军优势。集团在销的神经系统药物品种数也从2019年的19个升至2025年的38个。
据米内网统计,人福医药目前已拥有化学药+中成药超过300个(按产品名统计),热销产品分布在24个大类市场,除了高位领军神经系统药物(化+生)市场,2025年该集团还是中成药补气补血类用药市场TOP20集团、是中成药消化系统疾病用药市场TOP32集团、是中成药皮肤科用药市场TOP33集团、是中成药呼吸系统疾病用药市场TOP39集团、是中成药神经系统疾病用药市场TOP43集团。
2025年在中国三大终端六大市场,人福医药TOP20产品合揽超过120亿元,亿级产品有15个,化学药占10个、中成药占5个。
8个亿级化学药为神经系统药物,其中注射用盐酸瑞芬太尼增长了6.74%,销售额高达38.8亿元,盐酸氢吗啡酮注射液增长了16.23%,销售额为8.4亿元,盐酸纳布啡注射液增长了7.17%,销售额超过7亿元,1类新药注射用苯磺酸瑞马唑仑增长了15.51%,销售额涨至3.7亿元,盐酸阿芬太尼注射液增长了35.05%,销售额为2.9亿元。
5个亿级中成药中有3个为独家产品,石榴补血糖浆增长了32.20%,销售额接近2.4亿元,复方木尼孜其颗粒增长了17.43%,销售额接近1.7亿元,养心达瓦依米西克蜜膏的销售额也达到了1.4亿元水平。
近几年,人福医药稳步推进国际化,目前已累计获得230余个FDA批准的ANDA文号,据集团年报数据显示,2025年集团的美国仿制药业务实现营业收入约19.40亿元,集团不断推动国际市场与国内市场双循环的发展格局,全力打造具有全球竞争力的国际一流生命科技企业。


