北京泰德厉害了!斩获13个重磅品种,6大高端贴膏剂领跑百亿市场,10款1类新药火力全开
编辑说:近日,北京泰德的利多卡因凝胶贴膏获批上市,为全球首款糖尿病神经痛贴剂;公司与中国药物所联合开发的1类新药注射用TRD221申报IND获受理。2020年至今,北京泰德已有13个重磅品种获批上市,包括6款高端贴膏剂及多款国内首批上市产品。近年来公司研发管线稳步推进,目前已有14款新药(10款1类新药)处于获批临床及以上阶段,2款新分类报产仿制药在审。
来源:米内网原创 2026-01-04 15:26北京泰德
近日,北京泰德的利多卡因凝胶贴膏获批上市,为全球首款糖尿病神经痛贴剂;公司与中国药物所联合开发的1类新药注射用TRD221申报IND获受理。2020年至今,北京泰德已有13个重磅品种获批上市,包括6款高端贴膏剂及多款国内首批上市产品。近年来公司研发管线稳步推进,目前已有14款新药(10款1类新药)处于获批临床及以上阶段,2款新分类报产仿制药在审。
斩获13个重磅品种,全球首款糖尿病神经痛贴剂亮相
近日,国家药监局官网显示,北京泰德制药自主研发的利多卡因凝胶贴膏(得百宁®)新增“用于糖尿病性周围神经病理性疼痛治疗”的适应症获批上市。作为全球首款且目前唯一获批该适应症的外用镇痛贴剂,得百宁®填补了国内外用一线药物的治疗空白,有望为国内超2亿糖尿病患者提供更安全、更便捷的神经痛管理方案。
在中国三大终端六大市场(统计范围详见本文末),局部用麻醉化药近年来销售额逐年攀升,2022-2024年先后突破5亿元、6亿元和7亿元,同比增长51.42%、32.24%和18.08%;2025Q1~Q3继续以23.94%的增速增长至超7.3亿元,全年有望向10亿元大关发起冲击。
北京泰德制药成立于1995年,是一家专注于高端靶向制剂技术和生物制药领域的制药企业,近年来基本保持每年有新品获批上市的态势,发展潜力充沛。
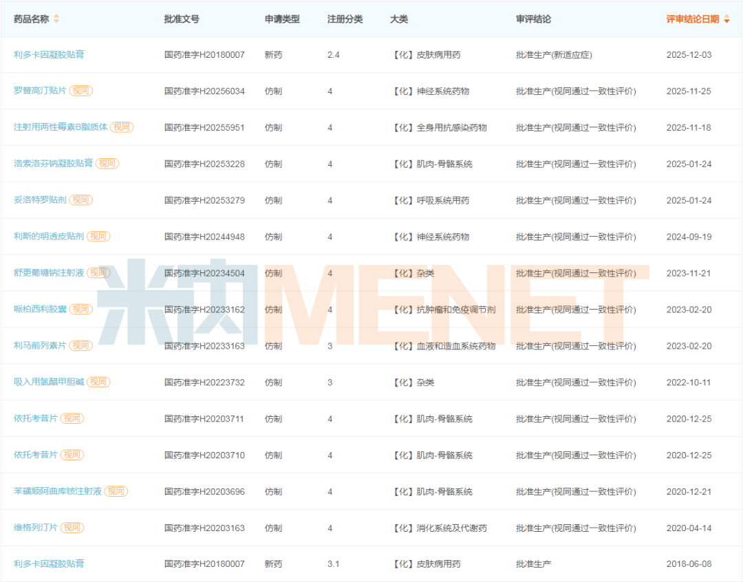
米内网数据显示,2018年至今,北京泰德制药已成功斩获13个重磅新品,包括利多卡因凝胶贴膏、维格列汀片、苯磺顺阿曲库铵注射液、依托考昔片、妥洛特罗贴剂、注射用两性霉素B脂质体、罗替高汀贴片、吸入用氯醋甲胆碱、哌柏西利胶囊、利斯的明透皮贴剂、利马前列素片、舒更葡糖钠注射液、洛索洛芬钠凝胶贴膏,进一步丰富公司产品线。
13个已上市的品种中,公司的利斯的明透皮贴剂、利马前列素片(首家过评)、妥洛特罗贴剂(首家过评)等为国内首仿,吸入用氯醋甲胆碱、苯磺顺阿曲库铵注射液、罗替高汀贴片等为国产第2家,依托考昔片、维格列汀片、洛索洛芬钠凝胶贴膏等为国产第3家,彰显了公司研发实力。
手握6大高端贴膏剂,210亿市场再掀波澜
作为国内现代外用透皮制剂的龙头企业,北京泰德制药目前已有6款高端贴膏剂获批上市,其中4款为国产首家,分别为氟比洛芬凝胶贴膏、利多卡因凝胶贴膏、利斯的明透皮贴剂、妥洛特罗贴剂,涵盖神经、肌肉-骨骼、呼吸、皮肤等疾病领域。
公司的氟比洛芬凝胶贴膏是首个国产凝胶贴膏,用于骨关节炎、肩周炎、肌腱及腱鞘炎等镇痛与消炎,2024年在中国三大终端六大市场销售额首超32亿元;2025Q1~Q3收获超29亿元,同比增长19.94%,为关节和肌肉痛的局部用化药TOP1品牌。
公司的利多卡因凝胶贴膏是国内神经病理性疼痛领域的首款外用贴剂,也是临床用于缓解带状疱疹后遗神经痛(PHN)的一线外用药物;利斯的明透皮贴剂是国产首款利斯的明贴剂,其透皮给药技术可对阿尔茨海默病患者实现持续稳定释药,减少其血药浓度波动及胃肠道不良反应。两款贴膏剂目前均已纳入国家医保乙类药目录。
2025年至今,公司的妥洛特罗贴剂(首个国产气道阻塞性肺部疾病外用贴剂)、洛索洛芬钠凝胶贴膏(用于缓解骨关节炎、肌肉痛的畅销凝胶贴剂)、罗替高汀贴片(全球首个治疗帕金森病的透皮贴剂)已先后获批上市,这将进一步丰富其贴膏剂产品矩阵,也巩固了其在呼吸、肌肉-骨骼、神经等贴膏剂领域的市场地位。
近年来,贴膏剂(化+生+中)在中国三大终端六大市场销售规模稳步攀升,2023年首度突破200亿元,2024年拿下创新高的超210亿元;2025Q1~Q3保持增长至近172亿元,从渠道格局上看,公立医院终端以约43%的份额领跑市场,从大类格局上看,骨骼肌肉系统疾病中成药以约57%的市占比一马当先。
16款新药火力全开,猛攻4大千亿市场
北京泰德制药坚持以“引领创新、持续创新”为重要发展战略,聚焦微循环、镇痛、呼吸、肿瘤四大领域,围绕新机制新靶点的小分子创新药、大分子生物药、高端制剂等核心板块,持续加大创新研发力度,公司年均研发投入占销售额收入的8%以上。
新药研发方面,北京泰德制药已有14款新药处于获批临床及以上阶段,包括10款1类创新药和4款2类改良型新药。其中,1类新药TDI01混悬液(特发性肺纤维化、移植物抗宿主病)、2.2类新药TRD303溶液(术后镇痛)已步入Ⅲ期临床,1类新药TRD205片(慢性术后神经痛)、1类新药注射用磷脂化重组人铜锌超氧化物歧化酶(减少心肌再灌注损伤)、2.2类新药美洛昔康注射液(腹部手术后中到重度疼痛)已步入Ⅱ期临床,申报NDA可期。
值得一提的是,公司在研1类新药TDI01混悬液于2025年10月再度获批临床(CXHL2501111/2),拟用于慢性肾脏病。截至目前,该新药已有至少4项适应症获得临床试验默示许可,产品潜力十足。
仿制药研发方面,北京泰德制药有2款产品以新分类报产在审,分别是妥洛特罗贴剂和贝前列素钠缓释片。其中,前者最早于2025年1月获批上市,为国内首仿+首家过评;后者于2025年6月提交上市申请获受理,米内网预测其有望于2026年6月传来喜讯,冲刺首仿及首家过评。
16款在研新品覆盖呼吸系统用药、神经系统药物、肌肉-骨骼系统等7个治疗大类,其中,抗肿瘤和免疫调节剂、消化系统及代谢药、血液和造血系统药物、神经系统药物2024年在中国三大终端六大市场销售规模分别超2300亿元、2100亿元、1600亿元和1000亿元。


