华润三九厉害了!拿下12个重磅品种,37款1类新药、27个新品来袭,19款新药上市可期
编辑说:近日,华润三九申报的4类仿制药克立硼罗软膏获批生产并视同过评。今年以来,公司拿下2款古代经典名方复方制剂,10个品种获批生产并视同过评,总过评品种数已增加至65个。华润三九坚持创新驱动战略,2025年前三季度研发费用约8.4亿元(+64%),目前公司有37款1类新药在国内处于申请临床及以上阶段,27个新品剑指120亿市场。
来源:米内网原创 2025-11-13 09:04华润三九
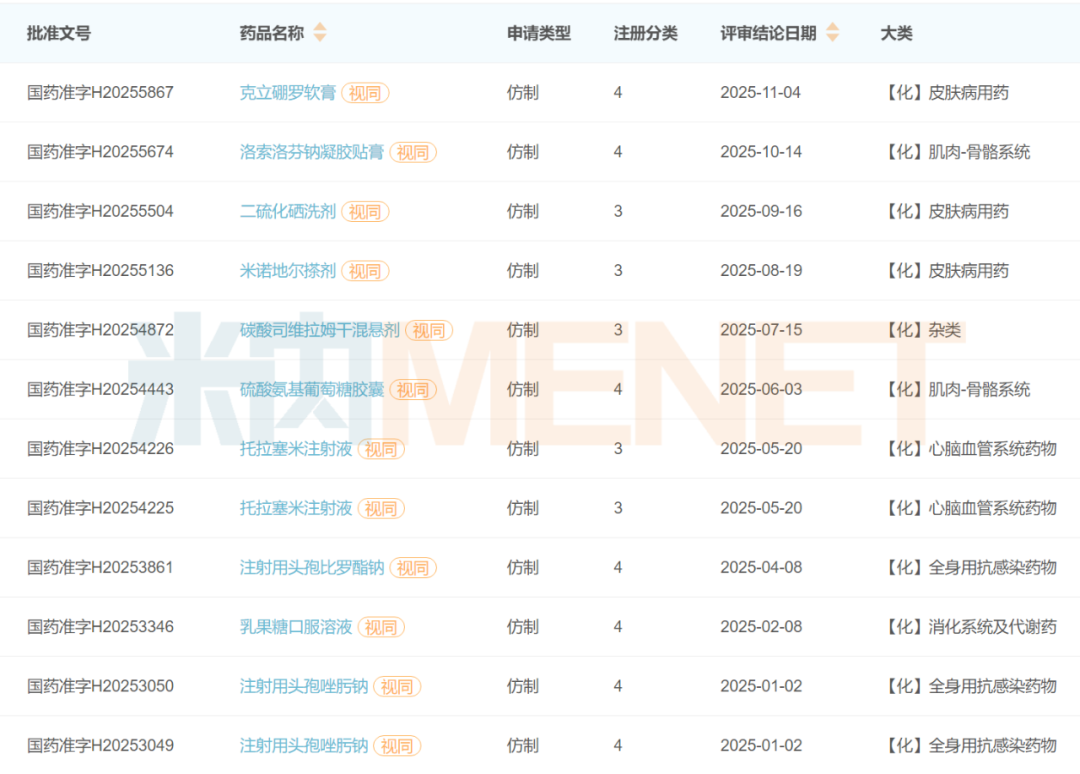
近日,华润三九申报的4类仿制药克立硼罗软膏获批生产并视同过评。今年以来,公司拿下2款古代经典名方复方制剂,10个品种获批生产并视同过评,总过评品种数已增加至65个。华润三九坚持创新驱动战略,2025年前三季度研发费用约8.4亿元( 64%),目前公司有37款1类新药在国内处于申请临床及以上阶段,27个新品剑指120亿市场。
拿下12个品种!3款1类新药首次获批临床
10月24日,华润三九发布2025年第三季度报告。2025年前三季度,公司实现收入219.9亿元,归母净利润23.5亿元,扣非归母净利润21.9亿元。
近年来,华润三九坚持创新驱动战略,研发投入由2020年的约5.8亿元增长至2024年的约9.53亿元;2025年前三季度研发费用约8.4亿元,同比增长约64%。公司围绕心脑血管、消化代谢、肿瘤、呼吸、中枢神经、皮肤等治疗领域,持续推进创新药、改良创新药、仿制药、经典名方等的开发或引进,创新成果丰硕。
中成药方面,今年以来,华润三九有益气清肺颗粒、温经汤颗粒2款古代经典名方复方制剂获批上市,其中益气清肺颗粒为国内首家获批。此前,公司已有苓桂术甘颗粒、芍药甘草汤颗粒等古代经典名方复方制剂获批上市。
仿制药方面,10个品种获批生产并视同过评,其中二硫化硒洗剂首家视同过评,注射用头孢唑肟钠、乳果糖口服溶液、洛索洛芬钠凝胶贴膏2024年在中国三大终端六大市场的销售额分别超过42亿元、22亿元、17亿元。
创新药方面,3款1类新药首次在国内获批临床,包括同种异体脂肪间充质基质细胞注射液、P134细胞注射液2款细胞疗法,以及双靶点小分子创新药TSL2109胶囊。
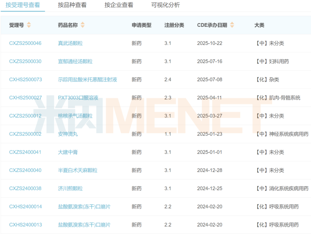
此外,多款新药申报NDA,上市可期,包括中药1.1类新药安神滴丸,古代经典名方复方制剂真武汤颗粒、宣郁通经汤颗粒、桃核承气汤颗粒、大建中膏等,以及2类改良新药示踪用盐酸米托蒽醌注射液、PXT3003口服溶液。
65个品种过评!27个新品紧盯120亿市场
截至11月10日,华润三九已有65个品种通过或视同通过一致性评价,涵盖12个治疗大类,集中在全身用抗感染药物(15个)、心脑血管系统药物(11个)、肌肉-骨骼系统(8个)、神经系统药物(8个)等治疗领域。
65个品种中,有17个品种为首家过评,其中赖诺普利氢氯噻嗪片、苯扎贝特缓释片、蒙脱石颗粒、注射用头孢比罗酯钠、二硫化硒洗剂、米诺膦酸片、咪唑斯汀缓释片等品种独家过评。
除去已获批/主动撤回品种,华润三九还有27个品种以新注册分类申报在审(不含已有批文品种),以皮肤病用药、消化系统及代谢药等为主,剂型上涵盖注射剂、软膏剂、片剂、胶囊剂、口服溶液、贴膏剂等。
从市场规模看,27个品种2024年在中国三大终端六大市场的销售额合计接近120亿元,其中氟比洛芬凝胶贴膏以超32亿元领跑,注射用盐酸万古霉素超20亿元,碳酸司维拉姆片、莫匹罗星软膏均超10亿元。
从市场竞争格局看,左舒必利片、盐酸毛果芸香碱滴眼液、乌帕替尼缓释片、酒石酸匹莫范色林胶囊、醋丙甲泼尼龙乳膏、奥贝胆酸片等品种在国内暂无仿制药获批,其中乌帕替尼缓释片2024年在中国三大终端六大市场的销售额超过5亿元。
中化生三箭齐发,37款1类新药来袭
米内网数据显示,目前华润三九有10款新药报产在审,包括中药1.1类新药安神滴丸,古代经典名方复方制剂真武汤颗粒、宣郁通经汤颗粒、桃核承气汤颗粒、大建中膏、半夏白术天麻颗粒、济川煎颗粒,2类改良型新药示踪用盐酸米托蒽醌注射液、PXT3003口服溶液、盐酸氨溴索(冻干)口崩片。
安神滴丸源于国医大师张伯礼院士临床经验方,由炒酸枣仁、合欢花等四味药材制成,主要用于治疗神经衰弱、失眠多梦、心神不安等症。III期临床试验结果显示,安神滴丸在改善失眠(心肝血虚证)患者的睡眠质量、失眠严重程度、日间功能障碍等方面均明显优于安慰剂组,并且安全性较好,临床未见化学药常见的嗜睡、头晕、记忆力下降等不良反应。
此外,据不完全统计,目前华润三九还有36款1类新药(按新版药品注册管理办法计)在国内处于申请临床及以上阶段,其中15款为中成药,11款为生物药,10款为化学药。
15款中成药涵盖心脑血管、妇科、儿科、消化系统、肌肉骨骼等治疗领域,其中有8款已处于III期临床,上市可期,包括三黄睛视明丸、肠康颗粒、连夏消痞颗粒、安体威颗粒、青术颗粒、脊痛宁片、香橘乳癖宁胶囊、苏苏小儿止咳颗粒。
11款生物药中,PD-L1/VEGFR双抗B1962注射液处于II期临床,用于治疗晚期结直肠癌,目前全球暂无同靶点双抗获批上市;细胞疗法中,人iPSC来源心肌细胞注射液、人脐带间充质干细胞注射液分别处于I II期、I期临床,同种异体脂肪间充质基质细胞注射液、P134细胞注射液等获批临床。
10款化学药中,GLP-1/GIP双受体激动剂BGM0504注射液进展最快,已有2个适应症步入III期临床,为超重或肥胖症、2型糖尿病。目前全球仅1款同靶点药物获批,为礼来的替尔泊肽,该药2024年全球销售额超过115亿美元。


