【重磅】华海药业发威,拿下大涨214%的明星药
编辑说:近日华海药业发布公告称,公司的拉考沙胺注射液获批上市。该产品是一款畅销抗癫痫药,2023年在中国公立医疗机构终端的销售额突破1亿元,2024上半年增长率超过214%。据米内网统计,拉考沙胺注射液是华海药业今年以来第三个获批的新品。
来源:米内网原创 2025-03-04 09:37华海
精彩内容
近日华海药业发布公告称,公司的拉考沙胺注射液获批上市。该产品是一款畅销抗癫痫药,2023年在中国公立医疗机构终端的销售额突破1亿元,2024上半年增长率超过214%。据米内网统计,拉考沙胺注射液是华海药业今年以来第三个获批的新品。
表1:药品的基本情况
来源:公司公告、米内网整理
资料显示,拉考沙胺是第三代抗癫痫药物,其副作用小,不经过肝脏代谢,与其他抗癫痫药物不会产生有临床意义的药物相互作用,并且由于其独特的作用机制,可作为部分癫痫发作患者新的治疗选择。尤其是当口服给药不可行时,拉考沙胺注射液是患者的一种替代给药选择,适用于4岁及以上癫痫患者部分性发作的联合治疗。
图1:拉考沙胺注射液的销售情况(单位:万元)
来源:米内网中国公立医疗机构终端竞争格局
优时比制药的拉考沙胺注射液于2019年获批进入中国市场,2020年起陆续有国产仿制药获批上市,随后进入2022版国家医保谈判目录,2024年转入国家医保常规目录。
医保助力产品销售放量,在中国城市公立医院、县级公立医院、城市社区中心及乡镇卫生院(简称中国公立医疗机构)终端,拉考沙胺注射液的销售额快速暴涨,2023年突破1亿元,2024上半年有214%以上的增长。
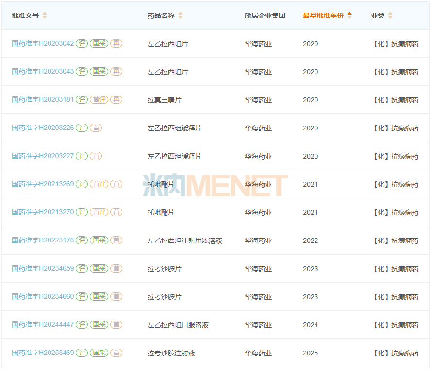
图2:华海药业已获批的抗癫痫药
来源:米内网中国上市药品(MID)数据库
米内网数据显示,截至目前华海药业已累计有8个抗癫痫药获批。2024上半年在中国公立医疗机构终端抗癫痫药市场,华海药业升上了TOP24集团(二级),近四年的销售额增长率分别为2061.54%、182.37%、118.37%、77.76%,公司已成为了该市场的新黑马,潜力可期。
图3:华海药业今年以来获批上市的新产品
来源:米内网中国申报进度(MED)数据库
今年以来,华海药业陆续获批了3款新品,替米沙坦片和奥美沙坦酯片为高血压用药,拉考沙胺注射液为抗癫痫药,公司的产品矩阵正在不断壮大。
资料来源:公司公告、米内网数据库注:米内网《中国公立医疗机构药品终端竞争格局》,统计范围是:中国城市公立医院、县级公立医院、城市社区中心以及乡镇卫生院,不含民营医院、私人诊所、村卫生室;上述销售额以产品在终端的平均零售价计算。数据统计截至3月2日,如有疏漏,欢迎指正!


