恒瑞两大产品获批!加码6亿呼吸系统药,造影剂拿下ANDA
编辑说:5月26日,恒瑞医药连发两则公告,其子公司山东盛迪医药以仿制3类报产的盐酸氨溴索口服溶液(100ml:0.3g)获批,去年年底,该产品的10ml:30mg规格已获批上市。同日,恒瑞医药的碘克沙醇注射液ANDA获批,意味着公司可以生产并在美国市场销售该产品。在此之前,恒瑞医药的酒石酸布托啡诺注射液首家过评,该产品在2021年中国公立医疗机构终端销售额超过16亿元。
来源:米内网原创 2022-06-01 09:39恒瑞白羽
精彩内容
5月26日,恒瑞医药连发两则公告,其子公司山东盛迪医药以仿制3类报产的盐酸氨溴索口服溶液(100ml:0.3g)获批,去年年底,该产品的10ml:30mg规格已获批上市。同日,恒瑞医药的碘克沙醇注射液ANDA获批,意味着公司可以生产并在美国市场销售该产品。在此之前,恒瑞医药的酒石酸布托啡诺注射液首家过评,该产品在2021年中国公立医疗机构终端销售额超过16亿元。
药品基本情况
盐酸氨溴索口服溶液能增加呼吸道黏膜浆液腺的分泌和减少粘液腺分泌,从而降低痰液粘度,同时促进肺表面活性物质的分泌,增加支气管纤毛运动使痰液易于咳出,适用于急、慢性支气管炎引起的痰液粘稠、咳痰困难。
盐酸氨溴索由德国Boehringer Ingelheim开发,目前有片剂、注射剂、口服溶液、吸入溶液等多种剂型在国内外上市。米内网数据显示,2021年中国城市公立医院、县级公立医院、城市社区中心以及乡镇卫生院(简称中国公立医疗机构)终端和中国城市实体药店终端盐酸氨溴索口服溶液销售额合计超过6亿元,同比增长超过10%。
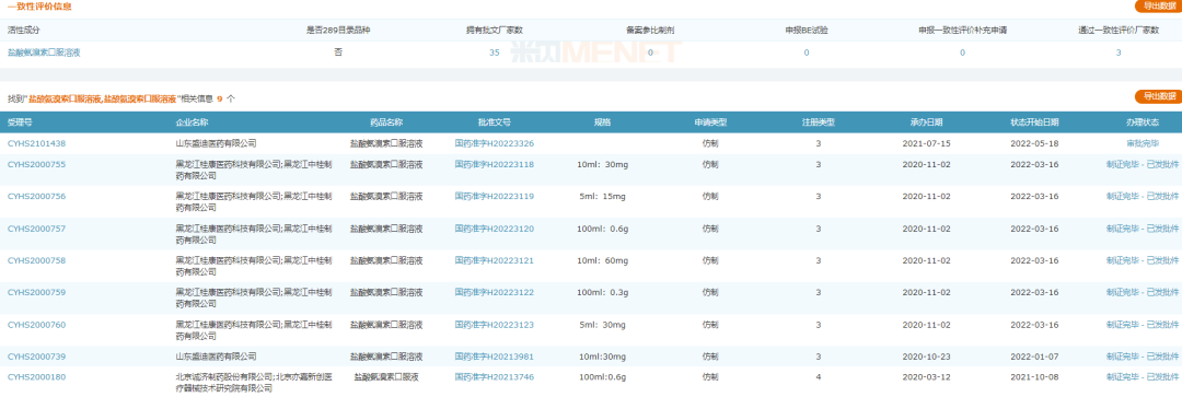
盐酸氨溴索口服溶液竞争格局
来源:米内网一键检索
目前,有35家企业拥有盐酸氨溴索口服溶液的生产批文,仅有山东盛迪医药、黑龙江桂康医药|黑龙江中桂制药、北京诚济制药|北京亦嘉新创医疗器械过评。江苏万高药业、黑龙江珍宝岛药业等9家企业以新分类报产,获批后将视同过评。
药品基本情况
碘克沙醇注射液为X-线对比剂,适用于成人及儿童的动脉数字减影血管造影、心血管造影、外周动脉及静脉造影、内脏动脉造影、脑动脉造影、头部及身体CT成像、排泄性尿路造影、冠状动脉CT血管造影(CCTA)。该产品由挪威奈科明制药开发,1996年在美国获批上市,2001年在中国获批上市,在此之前,国外尚无同类仿制药产品获批上市。
近年中国公立医疗机构终端碘克沙醇注射液销售情况(单位:亿元)
来源:米内网中国公立医疗机构终端竞争格局
米内网数据显示,2021年中国公立医疗机构终端碘克沙醇注射液销售额超过45亿元,同比增长近10%,是造影剂TOP1产品。目前,有7家企业拥有该产品的生产批文,江苏恒瑞医药、北京北陆药业、南京正大天晴制药等6家国内企业过评。成都倍特药业以仿制4类报产在审,获批后将视同过评。
值得一提的是,碘克沙醇注射液是第五批集采品种,未来市场格局将会发生变化。恒瑞医药此次拿下碘克沙醇注射液ANDA批文,进一步加快仿创结合推进国际化战略的步伐,拓展海外市场将带来新的业绩增长点。
恒瑞医药表示,碘克沙醇注射液获得美国FDA批准文号标志着恒瑞医药具备在美国市场销售该药品的资格,将对公司拓展市场带来积极影响,公司将积极推动该药品的上市销售。截至目前,盐酸氨溴索口服液相关项目累计已投入研发费用约1099万元;碘克沙醇注射液相关项目累计已投入研发费用约9846万元。
资料来源:公司公告、米内网数据库
注:米内网中国城市实体药店终端竞争格局数据库是覆盖全国297个地市及以上城市实体药店(不含县乡村实体药店),对全品类进行连续监测的放大版城市实体药店数据库。上述销售额以产品在终端的平均零售价计算。



